![]()
近期,武汉宏海科技股份有限公司(下称“宏海科技”)披露了招股说明书,拟北交所IPO上市,公开发行不超过2500万股。公司此次欲募集18750万元分别用于热交换器及数控钣金智能制造基地建设项目、家用电力器具配件研发中心建设项目、补充流动资金。
钛媒体APP注意到,宏海科技极度依赖美的、海尔,每年至少有7成的销售和采购均是来自这两家公司,这也埋下了大客户业绩变动带来的风险。同时在员工组成机构上,宏海科技近97%员工的学历在专科及以下。可能因为大量员工或未缴纳社保带来的劳资关系紧张,近几年宏海科技还多次因劳务纠纷与员工对簿公堂。
7成销售和采购来自美的、海尔
宏海科技的主营业务为空调结构件、热交换器、显示类结构件等家用电器配件产品的研发、设计、制造和销售。
2020年-2022年和2023年1-6月(下称“报告期”),宏海科技分别实现营业收入1.39亿元、1.88亿元、2.53亿元、1.88亿元,净利润分别为2404.34万元、2562.63万元、2665.62万元、2993.88万元,业绩持续增长。
钛媒体APP注意到,宏海科技的部分产品存在双经销商业模式,即客户将一批原材料销售给公司后,公司根据客户定量耗用要求,使用双经销材料生产对应规模的产成品并销售给客户的商业模式,对于该部分产生的销售收入,宏海科技采用净额法核算,将向双经销客户销售时结转的营业成本中的双经销材料金额进行抵销,调减了相应的营业收入及营业成本。
换言之,若未进行对冲(下称“总额法”),报告期内,宏海科技实际上产生的销售收入分别为2.9亿元、4.43亿元、5.85亿元、4.63亿元,数据较之前好看不少。
值得一提的是,宏海科技的业绩极度依赖公司的前五大客户。在总额法下,报告期内,宏海科技向前五大客户产生的销售收入分别为29640.38万元、45702.16万元、61320.55万元、47928.44万元,分别占当期营业收入的98.08%、97.63%、98.09%、97.7%。
其中向美的集团产生的销售收入分别为18855.82万元、30599.27万元、44336.27万元,分别占当期营业收入的62.4%、65.37%、70.92%、72.84%;向海尔集团产生的销售收入分别为4122.35万元、6591.01万元、7687.12万元、6703.82万元,分别占当期营业收入的13.64%、14.08%、12.3%、13.67%。也就是说,美的集团和海尔集团两家公司每年至少给宏海科技贡献超过7成的收入。

需要指出的是,美的集团、海尔集团除了长期霸占着宏海科技的前两大客户头衔之外,其还同时霸占着宏海科技的前两大供应商。报告期内,宏海科技向美的集团采购的金额分别为14273.47万元、26340.57万元、37462.64万元、28256.78万元,分别占当期采购总额的63.2%、68.29%、72.97%、73.54%;向海尔集团采购的金额分别为3034.32万元、5473.25万元、6205.25万元、4147.09万元,分别占当期采购总额的13.48%、14.19%、12.09%、10.79%。也就是说,宏海科技每年向美的集团和海尔集团至少采购7成的原材料。

通过分析销售端和采购端可以发现,宏海科技几乎就是一家被美的集团和海尔集团“拖着”,目前才能带着小幅增长的业绩赴北交所IPO的公司。
大量员工或存在未缴纳社保,劳资关系紧张
从员工组成机构上来看,截至2023年6月末,宏海科技拥有588名员工,其中学历在本科及以上共18人,专科及以下的570人,这也意味着,96.94%的员工学历在专科及以下。

令人不解的是,国家企业信用信息公示系统显示,2023年宏海科技共有288人缴纳了社保。这就不禁令人疑惑,2023年下半年,宏海科技是有大量员工离职?还是宏海科技存在未给员工缴纳社保的情形?

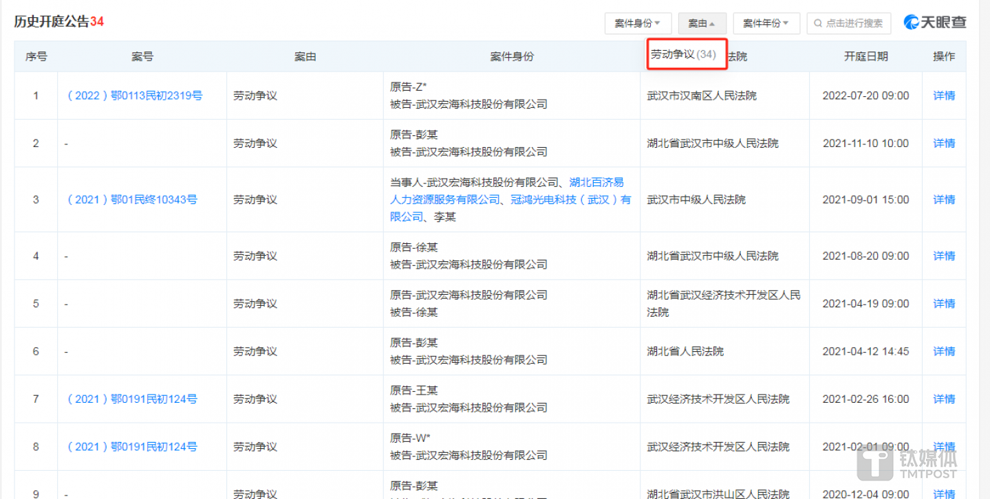
另外,钛媒体APP注意到,宏海科技还与员工存在不少的劳务纠纷。天眼查显示,宏海科技曾34次因与员工的劳务争议而对簿公堂。

特别是2021年和2019年,宏海科技先后两次因劳务争议成为了被执行人。

对此,北交所要求宏海科技说明是否存在劳务派遣、劳务外包、非全日制劳动合同、退休返聘等用工形式,如存在,披露具体情况,相关劳务用工是否符合《劳动法》、《劳动合同法》等法律法规的规定。以及充分揭示是否存在受到行政处罚或接受员工劳动仲裁的风险,并量化分析如涉及前述情形对发行人财务指标的影响。
除了员工情况外,宏海科技的股东情况也令人费解。招股说明书显示,在此次IPO股票发行前,周宏、周子依、袁兴理、李诗琪、岳玲等均是公司股东,总股本为1亿股,具体情况如下:

然而,国家企业信用信息公示系统显示,2023年,宏海科技仅有周宏一名股东,并且通过认缴和实缴出资额均为2041.83万元。

为何国家企业信用信息公示系统出现的数据与宏海科技招股说明书中的信息相差如此大?(本文首发于钛媒体 APP,作者|邓皓天)







快报
根据《网络安全法》实名制要求,请绑定手机号后发表评论