![]()
宁波市北仑区,三面环海,碧波荡漾。
清明节前,在阔别了长达7年之久的银华基金后,刘一隆将与合伙人一起创立的私募基金的注册地,放在这个春暖花开的地方。
与他一起搭伙创业的还有,曾在万家基金、农银汇理等机构,工作超20年的鞠英利,以及在两家私募基金担任风控负责人的沈萌力。
人生过半,离开了熟悉的公募赛道,曾经风光不二的基金经理的“下半场”怎么过?
他们中的很多人,未能免俗地将未来的人生希望和理想所寄投向私募基金。而注册地,要么是花团锦簇的海南岛,要么是清空万里的东南沿海。
众基金经理开启人生“下半场”
成立于3月9日,备案于4月3日,在中国证券投资基金业协会4月公布的私募备案信息中,一家名为“宁波荣冰私募基金管理合伙企业(有限合伙)”,吸引了钛媒体APP的注意。
![]()
私募管理人备案信息
尽管注册地位于浙江宁波沿海的一个区,但办公地却设在北京大兴经济技术开发区,也就是北京人常说的亦庄。
荣冰私募注册资金5000万元,实缴资本1250万元,机构类型为:私募证券投资基金管理人;业务类型包括私募证券投资基金,和私募证券投资类FOF基金。
从备案的高管信息中,执行事务合伙人(委派代表)刘一隆的履历并不复杂,只有不长不短的十年时间,但也是这十年,让他完成了从一名分析师、研究员到投资经理的升级。
![]()
刘一隆履历
2012年,刘一隆在招商证券投资银行总部担任分析师。两年后,他进入博时基金研究部当研究员。一年后,他加盟银华基金,也是先从研究员做起,后担任多资产投资管理部的投资经理。
2022年夏天,刘一隆离开了做了7年的银华基金,也结束了长达十年的金融职场,他注册了宁波荣冰私募基金管理合伙企业(有限公司),从此开启了人生的“下一站天堂”。
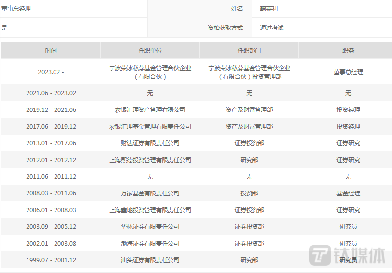
担任这家私募基金董事总经理的鞠英利,其职业生涯长达20年。1999年7月到2001年12月,他在汕头证券研究部做了两年研究员。2002年至2005年12月,他先后在渤海证券和华林证券,继续做研究员。
![]()
鞠英利履历
鞠英利与公募基金的第一次亲密接触,是在2008年的春天,在结束了零年多的投资管理公司生涯后,他去了万家基金投资部,第一次当上了基金经理。
不过,这一段基金经理的履历只维持了两年,他又重新做回了证券研究的工作。直到2017年夏天,他到了上海一家公募基金——农银汇理基金的资产及财富管理部,才重新做回了投资经理的角色。
私募注册地缘何扎堆“海岛”?
在过去十多年里,从公募赛道切到私募赛道,是基金经理开启人生下半场最主流的路径之一。
通过对私募管理人备案信息的持续跟踪,钛媒体APP注意到,最近一两年,新成立的私募基金中,高管们的履历中,有公募基金背景的数量和占比均举足轻重。
另一个值得注意的现象是,在私募基金管理人注册地的选择上,很多人倾向于将其放在海南岛,或者东南沿海的某个城市,比如厦门、宁波、杭州等等,不一而足,而办公地仍设在北上广深。
“新长期、新起点、新机遇,值得纪念的一天!”一年前,长盛基金前FOF业务总监赵宏宇在获知自己注册的新长期(海南)私募基金“办理通过”后,发朋友圈庆祝道。
从人声鼎沸的一线城市到椰树婆娑的海南岛,赵宏宇正迎来越来越多志同道合的同行——他们都曾经供职知名公募机构,浸淫资本市场多年,“奔私”后不约而同地又在海南岛重聚。
“搞私募,就下海南岛!”这句话,成为基金圈煽动力很强的一个口号。去年有一个月,在中基协备案的43家私募基金,私募老总们选择将注册设在海南自贸港的就多达12家,占比高达27.9%。
去年4月11日,魏巍所在的海南璞工私募基金管理有限公司拿到了中基协私募备案的“新生册”,在这家成立不到一年的私募基金,他担任的职位是合规风控负责人。
在正式加盟海南璞工私募之前,魏巍曾在泰达宏利、嘉实基金工作多年。早在2008年6月,他就到了泰达宏利基金研究部,担任研究员,这一干就是三年时光。
三年后的2011年夏天,魏巍到了深圳一家创投基金担任投资总监,两年后他离开金融机构,直接投身一家互联网公司——在奇虎三六五智能硬件投资部,担任高级投资经理。
2015年股灾后,魏巍加入中信证券,担任新三板业务部副总裁,也正式凭借着这三年投资履历,嘉实基金研究部给他抛来了橄榄枝,而给他的角色,也是新三板投资的负责人。
随后的几年,魏巍又先后转战过两家知名私募基金,担任投资总监和风控合规负责人,直到结识了陈智斌,后者刚刚成立的海南璞工私募,正在物色一位既熟悉投资又懂风控的合伙人。
作为海南璞工私募的创始人兼总经理,陈智斌早年曾在摩根大通银行投资银行股工作,后去了两家投资管理(咨询)公司的投资部任高管,直到2021年7月,他加入海南一家科技公司,自此与海南结缘。
四个月后,在海南三亚海棠区的一个基金小镇上,陈智斌注册了海南璞工私募基金管理有限公司,不过办公地仍设在深圳。备案信息显示,苏州致芯华创企业管理有限公司持股49%,他本人持股51%。
无论是来自公募基金的“公奔私”,还是来自私募基金的“私奔私”,当他们不约而同地将注册地设在海南,尽管办公地仍设在自己熟悉的城市,但他们的身份也多了一个标签:“海南派”。
从掌管数十亿、甚至数百亿资金的公募基金经理,到一家名不见经传的新私募基金合伙人,抛弃的是“声誉”、“平台”和可观的“业绩报酬”,换来的却是一个崭新、却又未卜的“未来”。
“面向大海,出暖花开”这是诗人海子的人生理想,也是漂泊大半生基金经理们,“奔私”后寄托事业与情怀的心之所向。(本文首发于钛媒体APP,作者|陈俊岭)








根据《网络安全法》实名制要求,请绑定手机号后发表评论