文 | 雷达财经,作者 | 周慧,编辑 | 深海
近日,一心堂发布了一则股份转让公告——公司实控人、有着“滇南药王”之称的阮鸿献计划向两位女儿分别转让不超过585.6万股公司股份,每笔转让股份上限占公司总股本的1%。
按公司最新13.54元/股的股价计算,此次转让股份市值约7929.02万元,两笔转让合计市值达1.59 亿元。
云南富豪老爹大手笔给女儿发钱的行为,引发了不少投资者关注。
阮鸿献的创业之旅堪称传奇。其在14岁就发现了商机,并积累起了第一桶金。截至三季度末,其一手创立的一心堂共拥有门店11230家,遍及滇、黔、桂、琼、川、渝、沪等多个省市。
不过,近年来一心堂业绩不佳。2022年,一心堂归母净利润达到10.1亿元,而到了2024年,公司归母净利润仅剩下1.14亿元。
与此同时,阮鸿献的财富也出现缩水。2020年,其个人财富曾达80亿元。但2023年至2025年,其本人的名字已从胡润百富榜消失。
富豪老爹转给女儿1.59亿元股票
11月6日晚,一心堂披露了一则关于实控人内部转让公司股份的公告。公司控股股东、实际控制人、董事长兼总裁阮鸿献,计划向女儿阮圣翔、阮爱翔分别转让不超过585.60万股公司股份,每笔转让股份占公司总股本的1%,合计转让比例达2%。
以11月7日公司最新收盘价13.54元/股计算,此次转让股份市值约7929.02万元,两笔转让合计市值达1.59 亿元。
上述公告指出,此次股份转让系家庭资产规划,将于2025年11月28日至2026年2月27日内通过大宗交易方式进行,股份来源为公司首次公开发行股票并上市以前持有的股份。
此外,一心堂在公告中强调,股份转让完成后,阮鸿献将与两位女儿分别签署《一致行动人协议》,不会导致公司控制权发生变更,不会对公司治理结构及持续经营产生影响。
同花顺iFinD资料显示,此次接受股份转让的阮爱翔,中国国籍,无境外永久居留权。1997年9月出生,硕士研究生。2023年3月至2025年7月,任一心堂董事长助理,2025年7月至今,任一心堂副总裁。
相比之下,阮圣翔的年龄更大一些。
2023年末披露的“昆明市个体私营经济协会昆明市第二十四届劳动模范和先进工作者推荐人选公示”显示,阮圣翔,女,1992年1月出生,大学本科学历,现任云南圣爱中医基金会理事长。任云南省青年企业家商会副会长、云南省中西医结合学会心身医学专业委员会常委、云南省社会组织促进会理事、昆明市工商联执委、昆明市青年企业家商会常务副会长。
一心堂2024年报显示,云南圣爱中医基金会是公司第二大股东刘琼投资的其他公司。
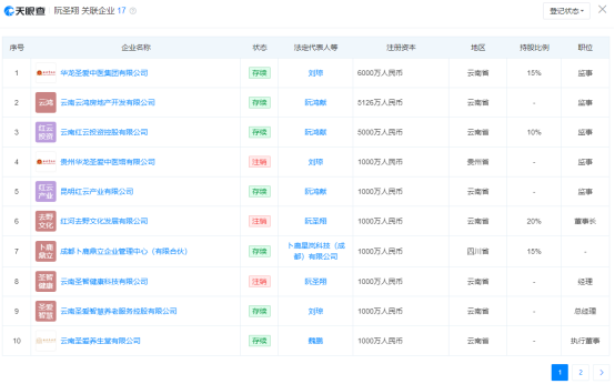
天眼查信息显示,阮圣翔目前关联17家公司,其中多家公司的法定代表人为一心堂实控人阮鸿献。
![]()
而截至本次转让前,阮鸿献持有一心堂1.82亿股股份,占公司总股本的31.12%,位列公司第一大股东。
近年来利润大幅缩水,三季报营收净利双降
董事长计划向两位爱女转让股份的一心堂,近年来业绩不佳。
同花顺IFinD数据显示,2022年,一心堂归母净利润达到10.1亿元,这是公司利润最高点。
2023年,公司归母净利润为5.49亿元,同比大降45.6%。
2024年,公司归母净利润再度大降79.23%,仅剩下1.14亿元。
进入2025年,一心堂业绩依旧难言理想。
据一心堂10月30日披露的2025年三季报,今年第三季度,公司实现营收40.87亿元,同比下降4.62%;归母净利润1894.16万元,同比增长78.71%。不过,公司三季度扣非净利润为993.53万元,同比大降78.04%。
时间线拉长至今年前三季度,一心堂整体业绩表现并不乐观。截至三季度末,公司累计实现营业收入130.01亿元,较上年同期下降 4.33%;归母净利润2.69亿元,同比下降8.17%。
![]()
在资产方面,截至9月30日,一心堂总资产较上年同期减少5.88%至158.41亿元。
此外,一心堂的货币资金由期初的34.18亿元减少至24.32亿元,应收账款则较年初也有所增加。
雷达财经梳理发现,一心堂营收下降,受到多方面因素影响。
一心堂2025年半年报显示,公司核心业务药品零售连锁上半年毛利率虽增长0.34个百分点至37.22%,但其营业总收入较去年同期减少了2.94%至65.2亿元。
![]()
同时,公司批发业务营收也有所下降,上半年实现营收21.11亿元,同比减少9.23%。公司主业承压在一定程度上制约了营收的增长。
尽管公司并未在三季报中披露具体业务的营收情况,但在10月31日发布的投资者调研公告中,针对投资者提出的“云南零售业务下滑的影响何时能弱化”问题,一心堂表示,受外部政策(如医保规范)与宏观经济(老龄化、消费渠道多元化)变化较大,药店所面临的环境和模式不太可能恢复至过去状态。
面对主业的失速,一心堂的核心策略是优化内部,包括门店调改、员工培训、激励政策完善等。公司称,目前调改门店已显成效,2026年会进入常态化推进阶段。
一心堂称,目前,医药零售行业核心方向是“提升单店服务人数与效率”,经营合规化(如医保溯源码全覆盖、供应链合规)是关键趋势。医保溯源码启用后,部分行业乱象的得到减少,竞争环境更公平,但短期内却带来了合规阵痛。
一心堂推测,门店出清不会短期大幅发生,预计2-3年逐步优化,有行业报告显示最终单店服务人数能达2000-3000人,约2/3合规医保药店留存,留存门店聚焦服务能力、规范程度、覆盖人群;租金将随市场竞争与门店效率提升逐步趋于合理。
雷达财经梳理发现,一心堂曾在医保规范栽过跟头。
据媒体报道,2024年6月2日,国家医保局发布消息,一心堂因旗下一些定点连锁门店存在串换药品、超量开药、为暂停医保结算的定点零售门店代为进行医保结算等违规问题,被国家医保局基金监管司的约谈。
按照约谈要求,一心堂随即从“虚假开药、串换药品、超量开药、代为其他药店进行医保结算、日常管理”等多个方面开展自检自查,并退回了因违规问题涉及的医保基金1070余万元。
随着近年来线上医药电商的崛起,公司线下门店客户遭到分流,行业竞争也日益加剧。目前,叮当快药、美团、饿了么、京东健康、阿里健康等都已提供药品即时配送服务,面对行业新变化,一心堂近年来也已开始积极布局新零售业务,试图为零售主业开辟新的增量。
但从数据来看,公司仍与头部企业有着较大差距。2025年上半年,一心堂新零售销售额达7.27亿元,其中O2O销售占比81.02%。而据智研咨询,作为阿里巴巴集团在医疗健康产业的重要布局,依托天猫平台,阿里健康2025上半财年营业收入则高达142.74亿元,同比增长10.17%。
公司减值计提则加剧了利润的收缩。一心堂10月30日披露的公告显示,公司在进行清查和资产减值测试后,计提了减值准备,使得前三季度税前利润减少了1147.19万元。
其中,信用减值损失(包含应收账款、应收票据、其他应收款)高达人民币1567.79万元。
![]()
不过,公司资产减值损失为-420.6万元。
截至三季末,一心堂共拥有门店11230家,遍及滇、黔、桂、琼、川、渝、沪等多个省市。
阮鸿献已连续三年从胡润百富榜消失
作为一心堂的创始人,阮鸿献的创业历程十分传奇。
公开资料显示,阮鸿献,1966年生于云南省红河州弥勒县(今弥勒市),小学三年级时,他因同伴缺医少药离世而立志从医。
1980年,阮鸿献偶然发现昆明市药材公司收购金银花的是村供销社的4倍,于是他向父亲借了40公斤金银花,拉到昆明卖了200多元,赚到了人生的第一桶金。
1981年,阮鸿献成立鸿翔药材收购站,在各处收购药材,靠双脚加摩托车挣到了人生第一个100万。
1986年。阮鸿献遇到了同样对中药感兴趣的刘琼。那个时候,阮鸿献全身都是中药味道,刘琼就被他身上的中药味给吸引了。很快,二人坠入爱河,喜结连理。
1991年,阮鸿献在昆明成立鸿翔中药材经营部,靠蹬三轮车、开货车进药材跑出了1000万。
1996年,亚洲金融危机爆发,阮鸿献有两三千万的货款收不回来。阮鸿献上门去客户公司要债,客户对他说:要钱没有,要就把药拉走。
为了挽回损失,阮鸿献成立了华龙商社,拿到了中西成药的经营许可证。
1997年,阮鸿献创立的鸿翔中西大药房开业,他做好了第一个月亏损1万元的准备,出乎他意料的是,当月药店盈利7000元,第二个月利润则达2万元。此后,阮鸿献开始将业务由收购、批发转型为药品零售。
2000年,鸿翔中西大药房正式更名为一心堂,秉持着“对药一心一意,对民以心换心”的经营理念,一心堂在阮鸿献的带领下得到迅速发展。
在阮鸿献的主导下,一心堂于2014年成功上市,成为中国首家A股上市的直营连锁药店。
2015年的胡润百富榜上,阮鸿献、刘琼夫妇以100亿元的财富,位列榜单第305位。
2016年的胡润百富榜上,阮鸿献、刘琼夫妇以67亿元的财富,位居云南第二位。
2017年1月份,阮鸿献和刘琼的婚姻走到了尽头,二人签署了离婚协议,对双方股权进行了分割。该年的胡润百富榜上,二人财富下降至55亿元。
2018年,阮鸿献和刘琼分开登上胡润百富榜,财富分别为52亿元和26亿元。
2019年胡润百富榜显示,阮鸿献和刘琼财富分别降至47亿元和23亿元。
2020年,二人财富出现反弹,分别为80亿元和37亿元。
2021年,阮鸿献和刘琼财富分别为58亿和25亿元。
2022年,仅有阮鸿献一人上榜,其财富缩水至50亿元。
2023年至2025年,阮鸿献和刘琼均从胡润百富榜消失。
阮鸿献和刘琼财富走低背后,一心堂市值较高点出现了大幅蒸发。
11月7日,一心堂股价报收于13.54元/股,最新市值为79.29亿元。2021年4月6日盘中,一心堂股价创出45.92元/股,对应市值269.09亿元。据此计算,一心堂市值较高点蒸发189.8亿元,下跌比例达70.53%。







快报
根据《网络安全法》实名制要求,请绑定手机号后发表评论
夜晚宅男们都爱去的地方:A44AA . 抗 夜晚宅男们都爱去的地方:A44AA . 抗▇▇▇▇▇▇▇▇▇▇▇▇