文 | 猎云网,作者 | 邵延港
又一家HRSaaS企业冲刺港股IPO。
5月27日,中国最大非传统用工平台服务商博尔捷,向港交所主板递交招股书,华泰国际为独家保荐人。
据悉,博尔捷创立于2013年4月。十一年来,博尔捷业务从OA领域的人力资源产业园区管理解决方案,到人力资源管理ERP软件,再转型至人力资源系统SaaS服务。如今的博尔捷将SaaS运营、系统服务及为选定客户定制的自适应商业模式有机结合,为客户提供一系列解决方案,帮助客户简化非传统劳动力管理方面的业务流程。
非传统用工领域,主要服务包括即时配送、网约车、家政、护理等行业的非传统劳动者。让博尔捷真正实现“起飞”的,也正是众包骑手们撑起的标准配送服务。博尔捷在非传统用工平台领域排名第一,也是中国最大的人力资源产业园区运营商。
此外,博尔捷在IPO前仅获一轮融资,估值刚过10亿。
然而近几年,博尔捷是凭借营收占比近九成的“神秘”客户A,成为即时配送行业数字化转型领域的代表,业务依赖性显著。此次IPO,博尔捷计划投入大模型应用研发和业务拓展,对于正在盈利的博尔捷来说,SaaS业务又是否会被大模型吞掉利润呢?
年入近10亿,第一大客户独占8亿多
招股书显示,博尔捷目前运营iBridge、SHOUDAOZI.COM和ONTech三个自主开发的平台,还为部分客户提供基于数据的SaaS解决方案,以满足其个性化的数据同步需求。
业绩方面,2021年、2022年及2023年,博尔捷营收分别为 9.87亿元、10.22亿元和及9.48亿元;毛利率分别为 12.2%、15.1%及12.7%;净利润分别为4811.6万元、5144.9万元及3192.7万元,而同期的经调整利润则分别为 2905万元、3389万元及 3395万元。
博尔捷收入来自两部分:非传统劳动力管理解决方案和人力资源产业园管理解决方案。其中。在2021年、2022年及2023年,博尔捷来自非传统劳动力管理解决方案的收入分别为9.33亿元、9.68亿元及9.04亿元,分别占同年总收入的94.5%、94.7%及95.3%。
在博尔捷的非传统劳动力解决方案中,收入主要来自其与即时消费服务行业客户的定制化合作模式,博尔捷向这类客户提供标准配送服务或自营本地服务,而标准配送服务占据博尔捷营收的绝大部分。
据了解,标准配送服务是指在与客户的合作中,博尔捷主要负责自费建立、运营及管理配送骑手站点及透过在线线下渠道招募配送骑手,以在规定的地理区域内承担配送任务,并处理由此产生的任何投诉。
招股书显示,2021年、2022年及2023年,博尔捷来自标准配送服务的业务收入分别为7.83亿元、8.13亿元及8.08亿元,占总营收的比例分别为84.0%、84.0%及89.5%。而与高额的收入相对的是,博尔捷标准配送服务的毛利水平却较低。2021年、2022年至2023年,博尔捷通过该项服务获得的毛利润分别为2065.9万元、2697.7万元和2570.5万元,毛利率仅为2.6%,3.3%和3.2%。
![]()
来源:博尔捷招股书截图
此外,博尔捷的客户集中度处于非常高的水平。2021年、2022年及2023年,博尔捷来自五大客户的收入分别为9.07亿元、9.40亿元及8.62亿元,分别占相应年度总收入的91.9%、91.9%及91.0%;而同期单一最大客户的收入分别为8.80亿元、9.07亿元及8.18亿元,分别占相应年度总收入的89.1%、88.7%及86.3%。
博尔捷的最大客户,就是提供了定制化合作模式的那家即时消费服务行业客户——客户A。博尔捷在招股书中对其的表述为“在中国实时消费服务行业占据领先市场地位”。博尔捷从2020年开始成为客户A的配送合作伙伴,为客户A提供自营本地服务。作为回报,向客博尔捷户A收取标准配送服务费。近三年来,博尔捷的标准配送业务的收入几乎是该业务的全部收入。
但单一大客户的占比过高,对博尔捷来说或许并不是好事。2021年、2022年及2023年,博尔捷从客户A获得的毛利合计分别为5300万元、7400万元及3060万元,仅分别占公司同年毛利总额的44.1%、48.1%及25.4%。
做零工管理,只获一轮融资,如今要卷入大模型
2013年,博尔捷运营主体公司苏州欧孚正式成立。初期,创始人侯正宇通过上海博尔捷、江苏博尔捷、上海正东等三家公司及这三家公司的分子公司从事人力资源服务业务,大致业务板块分为三类:劳务派遣、服务外包和人才招聘。
2016年5月,苏州欧孚改制为股份有限公司。次年11月,苏州欧孚全国股转系统挂牌。考虑到未来业务策略及为改善本集团融资能力及资本结构,苏州欧孚于2017年11月8日自愿终止在全国股转系统挂牌。
不过,博尔捷自创立至今只进行了一轮融资。
招股书显示,2021年12月3日及2022年3月24日,公司与东方富海和集富亚洲订立投资协议,据此,集富亚洲及两间东方富海实体同意分别按代价7818852.81美元(相当于人民币5000万元)及人民币5500万元元认购27173913股及29891305股优先股。
据此前公开信息,博尔捷该轮融资投前估值 9.2亿元,投后估值 为10.25亿元。本轮融资将主要用于复合用工管理云平台产品的完善、创新,市场推广及业务发展。
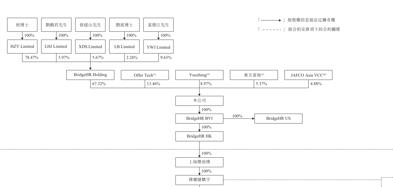
截至当前,博尔捷的股权机构相对集中,包括侯正宇、刘鹤君、徐道山、刘波、袁伟江等高管团队通过BridgeHR持股67.32%,作为投资人的东方富海和集富亚洲分别持股5.37%及8.97%。
![]()
来源:博尔捷招股书截图
值得注意的是,博尔捷该轮融资时,市场灵活用工需求猛涨。如在2022年,博尔捷来自定制化服务的收入增加,主要原因是2022年实时配送需求数量激增。
此外,博尔捷的即时配送服务业务模式,也意味着博尔捷的系统管理着一大批配送骑手。博尔捷配送服务收入于配送完成的时间点按全额法确认,客户按月计算应付予的报酬,随后,博尔捷才与配送骑手结算佣金。
这种模式下,博尔捷很容易卷入多起涉及配送骑手的交通事故相关纠纷,如今涉及针对博尔捷的约80宗未了结的法律诉讼,其中绝大部分与涉及配送骑手的交通事故有关。
博尔捷在招股书中表示,此次IPO 募集所得资金净额将主要用于 AI 应用的研究、开发和商业化,以及迭代现有解决方案产品;在出现适当机会时,收购或投资于可能与业务产生协同效应的目标业务;向新兴垂直行业的国内扩张和海外扩张;以及用作营运资金及其他一般企业用途。
对于未来发展,博尔捷打算大力投资AI应用的研发及商业化,充分利用内部资源,同时寻求外部合作,要结合自己积累的数据,对第三方大模型进行精调。
如今,SaaS企业亏损状态居多,而大模型是一笔巨大的投入,对公司利润也是一场巨大的考验。
博尔捷独特的业务模式,按2022年服务总价值计,博尔捷在非传统用工平台领域排名第一,所占市场份额为13.2%。此次IPO,博尔捷也将为冲击港股的HRSaaS阵营扩容。







快报
根据《网络安全法》实名制要求,请绑定手机号后发表评论