![]()
截图自贵州酒业社交平台视频
近日,“科比酱酒”引发市场高度关注,起因是一个名为“贵州科比酒业”的账号在社交平台上注册成功,并发布视频称将推出“科比酱酒”(KEBI WINE)。
很快,贵州科比酒业被网友质疑碰瓷已故球星科比·布莱恩特,广大球迷群起激愤。因为除了账号名称与科比挂钩外,宣传视频中的两款白酒产品分别为“科8”“科24”,瓶身设计与科比球衣高度相似,上面还标注了“科比酒业”和“KB”字母LOGO,而8号和24号也正是科比生前在湖人队所穿球衣号码。
大量与“科比”相关的元素是否涉嫌侵权?舆论发酵后,贵州酒业所在地监管部门对外回应称,“正在进行核查”。4月24日,“贵州酒业”账号发布了一条视频,但回应内容可谓避重就轻。
钛媒体APP查询发现,此前贵州科比酒业宣传产品的置顶视频已不可见。
世界冠军站台?公司回应:冠军们未收取任何费用
在抖音平台上搜索“贵州科比酒业”,该账号的简介页面赫然写着:“你见过洛杉矶凌晨4点的街景吗?肯定有人要赢,那个人为什么不能是我?如果有一天你忘了努力,听我讲讲他的故事!科比酱酒,致敬传奇,青春永不谢幕!”![]()
(截图自贵州酒业社交平台视频)
真情怀还是蹭热度?目前,贵州科比酒业酱酒账号已发布多条视频,获赞6.2万,粉丝在6000人以上。
值得注意的是,该账号发布的多条视频是由多位世界冠军为其录制,包括速度滑冰青年世界冠军林雪、散打世界冠军林慧敏以及著名体操运动员周芯羽。
对于世界冠军的站台,网友纷纷表示,“不理解”。顺理成章地这几位世界冠军也被猜测是贵州科比酒业的代言人。
4月24日,贵州科比酒业发布了澄清视频,一位名叫“老于”的人在视频中表示,“科比酒业没有请任何冠军代言,我们只是请了几位冠军朋友,帮忙简单录制了一段视频而已,出于对传奇巨星的尊敬,出于对曼巴精神的认可,出于对朋友的帮忙,这几位冠军没有收取科比酒业任何费用。”
不过,对于碰瓷科比行为,贵州科比酒业没有做过多解释。钛媒体APP注意到,贵州科比酒业此前宣传酒类产品的相关视频已经下架,作品栏只剩下几位冠军录制的视频。
公司曾申请注册多枚“科比”相关商标
又是碰瓷科比,又是世界冠军站台,这家公司什么来头?
国家企业信用信息公示系统显示,贵州科比酒业成立于2023年8月,注册资本1000万人民币,法定代表人、执行董事兼总经理为于永洋,经营范围含酒类经营、食品互联网销售、个人互联网直播服务、市场营销策划等。
另据天眼查显示,该公司股权结构非常简单,由于永洋、于海洋分别持股99%、1%。根据企查查,两人同时还在江苏省的多家公司任职。
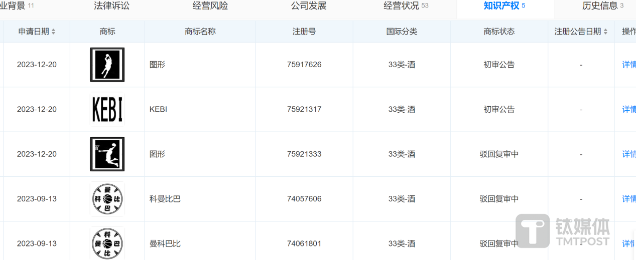
值得注意的是,天眼查知识产权信息显示,2023年9月13日至2023年12月20日,贵州科比酒业曾申请注册“KEBI”“科曼比巴”“曼科巴比”及图形商标,国际分类均为酒类,其中“KEBI”及图形商标状态为初审公告,其余商标申请为驳回复审中。![]()
(图源:天眼查)
钛媒体APP在中国商标网查询到,部分不同字体的“科比”二字以及包含“科比”二字的图片已被注册为商标,国家企业信用信息公示系统内也显示名字中包含“科比”二字的企业也不在少数。
但根据《关于审理商标授权确权行政案件若干问题的规定》,将政治、经济、文化、宗教、民族等领域的公众人物姓名等申请注册为商标的行为,属于“其他不良影响”。目前已有不少法律界相关人士认为,贵州科比酒业若擅自使用“科比”姓名进行商业活动,或构成侵权。如同此前的“乔丹商标之争”。
不过,据报道,贵州酒业方声称其所有资质都是合规合法,公司做的不是体育类目,是食品类目,公司的工商注册,包括知识产权都是合规合法的。
但这显然无法说服广大网友,目前在社交平台上,舆论几乎一致认为贵州科比酒业涉嫌侵权。(本文首发于钛媒体APP,作者|杨欢)







快报
根据《网络安全法》实名制要求,请绑定手机号后发表评论