![]()
图片来源@视觉中国
钛媒体注:本文来源于微信公众号东四十条资本 (ID:DsstCapital), 作者 | 陶辉东,钛媒体经授权发布。
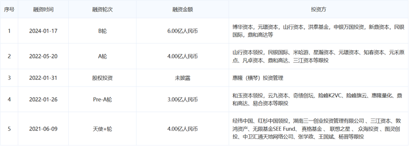
1月24日,民营航天公司东方空间宣布完成近6亿元人民币B轮融资。本轮由梁溪科创产业母基金(博华资本管理)、申银万国投资、洪泰基金、新鼎资本等新机构投资,老股东山行资本、民银国际、鼎和高达等继续加持。融资将用于“原力-85”百吨级液氧煤油发动机研发与生产工作,加速“引力二号”中大型可回收液体运载火箭研制。
研制火箭是一件非常烧钱的事,随着B轮融资落地,东方空间成为融资额最高的中国民营航天公司之一。短短三年间,东方空间已经获得了数十家VC的接力投资,总融资近20亿元人民币。东方空间身后集结了众多一线美元基金、产业资本,包括经纬中国、红杉中国、真格基金、奇绩创坛、险峰K2VC、米哈游等。
据了解,东方空间B轮融资估值已达60亿元左右,成为中国最新一家民营航天准独角兽公司。
刚刚过去的2023年,是中国民营商业航天按下加速键的一年,全年国内民营火箭公司共发射运载火箭13次,成功入轨12次,创下了中国民营商业航天诞生八年来的新纪录。随着头部玩家们正逐渐从试验走向商业化的阶段,中国的SpaceX正在呼之欲出。
一飞惊人
2024年一开年,东方空间成为最吸睛的中国民营航天公司。
1月11日,东方空间自主研制的“引力一号”火箭在山东海阳附近海域成功完成首飞,成为全球最大的现役固体火箭,也是中国民营航天公司迄今为止送入轨道的运力最大的一枚商业火箭,而且远远超越了所有的“前辈”们。
这一轮商业航天热很大程度上是由卫星互联网催生的。卫星互联网要实现组网,动辄需要数千上万颗卫星。因此,如何把数量庞大的卫星以低廉的成本送上太空,是商业火箭首当其冲要解决的问题。“引力一号”的近地轨道运载能力高达6.5吨,500公里太阳同步轨道运载能力4.2吨,可以支持百公斤级卫星的“一箭30星”。这意味着,现在中国商业航天市场上也有了一枚可以快速、低成本的部署“星座”的火箭。
随着“引力一号”发射成功,东方空间算是拿到了商业航天的门票,打开了未来的想象空间,B轮融资也几乎同时落地。
山行资本合伙人朱思行表示,“过去的2年里,我们持续观察行业动态和团队进展,两者都在不断增强我们的投资信心。引力一号首飞成功入轨,对公司乃至行业都是重要的里程碑,创造了多项突破性的成果。我们非常看好引力一号的后续商业化运营,也十分期待引力二号进一步的研制进展。”
申万投资总经理戴佳明表示,商业航天已经成为大国竞争的战略制高点,马斯克的星链组网接近5700颗,而中国星座为了抢占有限的轨道和频谱资源,必然会加大星座计划投入,火箭运力是当务之急,东方空间引力一号是全球最大的固体运载火箭,能够支持百公斤级卫星“一箭30星”发射,满足中低轨卫星组网批量发射、中大型航天载荷快速响应发射需求。
很多人可能会对东方空间的名字感到有些陌生,“引力一号”是东方空间成立之后的第一次发射。与多数中国的民营航天公司非常不同的是,东方空间没有采取先从小型火箭、单杆式火箭开始然后慢慢迭代的模式,而是一起步就上马了捆绑式的重型火箭。
东方空间联合创始人、联席CEO布向伟曾在接受媒体采访时解释这么做的原因,他表示,相比其他民营航天公司,东方空间成立的时间晚了,小型火箭无非是追随别人的脚步,技术上没有突破,行业地位也显现不出来。
在2023年初的一次采访中,东方空间另一位联合创始人、联席CEO姚颂表示,火箭的迭代周期可以长达三年以上,也许从小型火箭开始试错可以减小风险,但可能错失这个迭代周期内的市场浪潮。而东方空间从市场需求出发,通过考察客户对火箭运载能力的需要,进行针对性研发,目标就是抢占先机。
当时,姚颂雄心勃勃地展望“引力一号”的发射:“这一飞,可能就会超过中国所有商业火箭公司,历史上发射过的所有东西的总和。在全世界的商业火箭公司里面,引力一号也是运载能力仅次于Space X第二大的火箭。”
现在过去还不到一年时间,吹过的牛已如期兑现。
东方空间成立于2020年,在中国的众多民营航天公司中并不算早,但它的创业团队阵容非常豪华。
东方空间的技术团队大多来自中国长征系列第一型固体运载火箭——长征十一号的研发团队。联合创始人、联席CEO布向伟曾担任长征十一号运载火箭的总体设计师,COO魏凯是长征十一号运载火箭的项目办主任。
公司的另一位联席CEO姚颂的履历就更不简单了,简直是开挂一般。他出生于1992年,高中就读于学霸云集的长沙一中。2011年,他拿到全国中学生物理竞赛二等奖被保送清华大学。2016年,刚从清华大学电子系毕业的姚颂与清华师友共同创办了深鉴科技并出任CEO。深鉴科技是一家AI芯片公司,成立后获得过三星、蚂蚁集团、联发科、金沙江创投、高榕资本等多家知名产业巨头和VC的投资。2018年,深鉴科技被著名芯片巨头、全球最大FPGA厂商赛灵思以3亿美元收购,是清华大学有科技成果转化制度以来第一家完成转化与回报闭环的企业,此时姚颂才满25岁。
创业成功后,姚颂曾踏入VC圈,兼任经纬中国风险合伙人、奇绩创坛访问合伙人。姚颂最初是以投资人的身份与东方空间接触的,但没多久他就加入了公司并出任联席CEO。
![]()
东方空间融资史,来源:启信宝
商业航天加速
刚刚过去的一年,是中国商业航天按下加速键的一年。
2023年4月,天兵科技研制的天龙二号在酒泉卫星发射中心成功首飞,成为中国商业航天首款成功入轨的液体运载火箭。
2023年7月12日,蓝箭航天研制的朱雀二号也在发射成功,是世界第一枚成功将载荷送入预定轨道的液氧甲烷火箭。
然后就是2024年1月11日,东方空间的全球最大固体火箭引力一号也发射成功。
至此,中国已经有蓝箭航天、星际荣耀、星河动力、中科宇航、天兵科技、东方空间六家民营航天公司成功实现了运载火箭的入轨发射。2024年还会有更多的新型火箭发射,公开信息显示,星河动力正在突破中大型液体运载火箭,其研制的智神星一号预计2024年下半年进行首飞。天兵科技也正在研制大型液体运载火箭天龙三号,预计2024年5月试飞。
随着火箭运载能力越来越大、稳定性提高、发射成本显著下降,中国民营航天可能真的要进入2.0时代了。
在大洋彼岸,马斯克也没闲着,万众瞩目的SpaceX“星舰”在2023年完成了两次发射,虽然“星舰”在两次发射中都解体,但SpaceX宣布实现了发射目标。预计在2024年初,“星舰”将进行第三次发射。与此同时,SpaceX的创收主力猎鹰九号火箭在2023年实现了惊人的91次发射,继续刷新自己创造的年度发射纪录。随着猎鹰九号的“印钞”能力越来越强,SpaceX在2023年已经首度实现盈利。
悄然间,商业航天正在从遥远的梦想变成眼前的现实,而中国民营航天公司正在奋起直追,力争在这场可能改变人类未来的太空竞争中取得一席之地。综合来看,中国各大民营商业航天公司宣布的战略规划大致可以总结为这么三步:
第一阶段,具备固体火箭的常规化发射能力,而且能够实现商业运载,为后续的持续发展提供稳定的现金流支持;
第二阶段,成功研发出液体火箭发动机,向可回收液体火箭迈进;
第三阶段,实现液体火箭可回收技术的商业应用。
2023年国内民营火箭公司共发射13次,成功入轨12次,创下了中国民营商业航天诞生八年来的新纪录。头部玩家们正在达成第一阶段的目标,开始进入第二阶段。
在火箭回收方面,中国公司们近期也突破不断。
2023年11月,星际荣耀的双曲线二号验证火箭成功进行垂直发射回收;次月,双曲线二号又完成了第二次飞行试验。
2024年1月19日,蓝箭航天的朱雀三号可复用火箭首次大型垂直起降飞行试验任务也取得成功。
在引力一号发射成功后,姚颂表示,东方空间的引力二号中大型可回收液体火箭正在研制中,目标是将运载能力提升至15-20吨,并用两年时间攻克可回收技术。
姚颂表示,“公司在成立的时候,我们内部提出来一个目标,希望花10年的时间,让发射成本降低到Space X的水平,把发射能力提升到Space X当前的水平。这就是我们要继续完成的事情。”
应该说,这是一个非常务实的目标。客观来看,中国的民营商业航天公司们与SpaceX的差距依然非常巨大。猎鹰九号的运载能力可达二十吨以上,能够“一箭百星”且重复回收上百次,短期内中国公司们还难以望其项背。猎鹰九号在2015年成功完成首次回收,如果中国公司能在今明两年实现这一壮举,那么与SpaceX的差距就是十年。
当前的全球商业发射市场上,SpaceX是一家独大,它2023年全年把1286吨的载荷送上了太空,占到全球总发射质量的80%。这一场盛宴,中国公司怎能缺席?用中国商业航天业内常说的一句话来说,错过“大航海时代”的中国人,决不能再错过即将到来的“大航天时代”了。







快报
根据《网络安全法》实名制要求,请绑定手机号后发表评论