![]()
图片来源@视觉中国
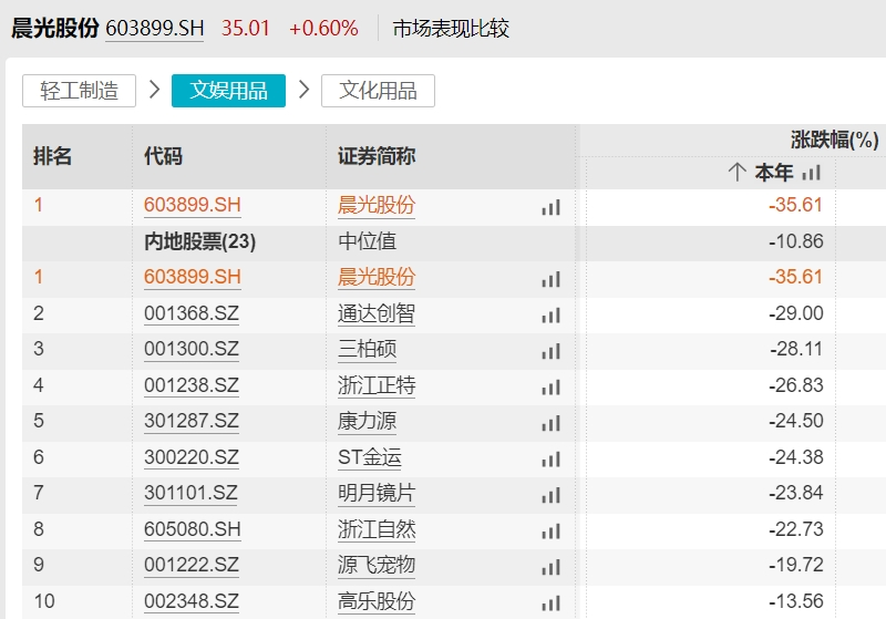
“花西子事件”将泼天富贵传到文具界,也让国产文具龙头晨光股份(603899.SH)的讨论度直线飙升。作为“文具茅”的晨光股份,过去曾经是被机构抱团的绩优白马股。但自2021年2月股价创下99.17元的历史新高后持续走低,至今已跌去60%;年内跌超35%,跌幅居22家文娱用品股之首。
这其中固然有大环境预期转弱、消费股整体疲软的因素,但行业垫底的市场表现,一定程度上也反映出投资者对于公司成长空间及盈利能力的担忧。![]()
市场表现,来源:Wind
成立15年、实施多元化发展战略超10年,晨光股份75%的净利润仍来源于传统业务。在传统文具业务增长逼近天花板后,晨光着手布局高端零售业务,但由于在高端门店运营方面缺乏经验,零售大店业务连续亏损多年,直至上半年才盈利。与此同时,晨光启动的办公直销业务虽然营收占比已超50%,但毛利率较低,对公司净利润的贡献不足1/3。
晨光股份对于“花西子事件”网络热度的敏锐把握,折射出公司急于抓住这波流量红利来开辟第二增长极。然而,晨光股份的电商家底并不丰厚:运营8年来,虽然增长迅速,体量却十分有限,且至今无法摆脱亏损泥潭。
积弱的电商渠道令人不得不怀疑,晨光股份的这波借势营销,能否助力公司再造业绩神话。在高端化转型阵痛迟迟未消、B端业务难扛盈利大旗的情况下,面对净利润的考核重压,如何依靠第二增长曲线赚得更多真金白银,是眼下晨光股份必须直面的课题。
电商渠道积弱已久
前不久,花西子在社交媒体上发表评论,一句“真的有人会拿克重去衡量眉笔的价值吗”引发一众文具品牌的反应。在晨光官方旗舰店的直播间,主播举着“自动铅笔真不贵!一支眉笔=12支自动铅笔,一支眉笔=150支铅笔”字样的手写牌,并且把“不贵”二字写在脸上,这一幽默的回应方式迅速成为网友的讨论焦点。
值得注意的是,被花西子成功送上头条的晨光股份,其电商业务尚处于亏损状态。
早在2015年,晨光股份成立晨光科技,负责线上全平台营销和授权店铺管理,业务范围包括天猫、京东、拼多多等线上经营业务,以及抖音快手的直播业务。
财报显示,2023年上半年,晨光科技实现营业收入3.7亿元,同比增长60%。拉长时间线来看,晨光科技营业收入从2016年的7885万元快速增长至2022年的6.5亿元,年复合增速达到约81.6%。不过在2017年出现135%的高增速后,晨光科技的营收增速再未超过60%。
尽管电商业务营收增速较快,但对上市公司的营收贡献度有限。翻阅历年财报发现,最近5年,晨光科技占上市公司整体营收的比例始终不足5%。
不仅如此,继2019年录得亏损120.59万元后,晨光科技2020年亏损进一步扩大至1195.77万元。此后的2021年、2022年并未披露晨光科技的盈亏情况,不过据9月28日每经记者的电话调研,晨光股份相关工作人员表示:“晨光科技目前仍处于亏损状态。”
电商板块业绩表现,钛媒体制表
在最新的一份投资者交流纪要中,晨光股份如此评价自己的电商业务:公司积极推进线上提升战略,线上各主要平台有布局,不同的平台打法也各有不同,公司会根据各个平台的特点有针对性地制定策略。一些新兴平台的增长比较快,原有的一些大的平台的效率也在提升。既关注线上占比的提升,也关注线上运营质量的提升,上半年整体表现是不错的。
“泼天富贵”来的猝不及防,然而电商渠道长期积弱,难免令人怀疑晨光股份能否在借势营销中持续出圈。盘古智库高级研究员江瀚曾表示,国货文具借营销收获了关注,至于热度会持续多久取决于多种因素。“如果品牌能够持续推出有趣、创意的产品和营销活动,与消费者建立紧密的联系和互动,这种热度可能会持续较长时间,否则可能只会是一时的。”
江瀚认为,在传统文具需求下降的情况下,文具行业应该积极寻求转型和突破。一方面,可以尝试推出更多创新、有趣的产品,吸引年轻消费者的注意。另一方面,可以探索数字化转型,通过互联网拓展新的销售渠道和合作伙伴,以扩大市场份额和影响力。
高端化转型尚未摆脱阵痛
事实上,晨光股份的优势在于线下渠道,而校园周边店是其核心竞争力。截至2022年,晨光在全国拥有约7万家使用“晨光文具”店招的零售终端。
随着国内人口结构变化,出生率下降,靠销售数量增长的传统核心业务对公司收入的贡献开始减弱。翻阅往期财报不难发现,公司传统核心业务收入增速总体呈波动下滑趋势,远不及新业务的增长速度。
新旧业务增速对比,钛媒体制表
“国内文具消费呈现品牌化、创意化、个性化和高端化的趋势,精品文创类产品需求进一步凸显,推动从文具到文创生活的升级转型。”晨光股份坦言,公司的传统核心业务面临着90后、00后的个性化需求变化推动的新产品需求变化的挑战。
为应市场需求变化,晨光尝试探索全新的业务模式,对现有传统渠道进行升级,先后于2014年和2016年创立晨光生活馆和九木杂物社,前者以8-15岁的学生作为主要消费群体,销售的产品以文具品类为主,店铺主要集中在新华书店及复合型书店;后者专注高端文创产品,以15-29岁的品质女生作为目标消费群体,店铺主要分布在各城市核心商圈的优质购物中心。
晨光对于九木杂物社新的五年战略定位是:成为晨光品牌和产品升级的桥头堡,和全国领先的中高端文创杂货零售品牌。不过从财务数据来看,晨光集团整个新零售业务(晨光生活馆和九木杂物社)前期一直处于烧钱阶段,2018年-2022年5年合计烧掉1.45亿元。
国金证券研报曾指出,高端化的必备要素有三个,分别是迎合又高于消费者需求的选品能力、打造爆款和定位高端的营销能力、高端门店体验式运营能力。“显然晨光股份在渠道方面有优势,但在高端体验式门店运营方面缺乏经验,调整难度较高。”
好消息是,2023年上半年九木杂物社终于实现盈利。报告期内,晨光生活馆(含九木杂物社)实现营业收入6.0亿元,同比增长38%,其中,九木杂物社实现营业收入5.6亿元,同比增长40%,实现净利润1,743万元,同比增长272%。
这是晨光线下高端零售业务自成立以来首次实现盈利。但若就此断言其摆脱亏损泥沼、实现对集团的反哺,还为时尚早。
在推进产品高端化战略中,晨光曾先后与航海王、故宫、大英博物馆等联名,获得一定成效。例如,故宫联名按动中性笔为例,产品得到提价500%以上。不过家长们对高价文具的声讨也就此展开。
2022年,晨光文具曾因一支中性笔定价55元被推上风口浪尖,经媒体报道,这只55元的中性笔,正是九木杂木社店内售卖的航海王unique黑金系列中性笔。
此后,晨光文具也曾多次陷入“文具刺客”的争议中。不少家长反馈:明明零售价只有3、4元的普通中性笔,通过一顿包装操作,摇身一变成盲盒价格直接涨至6、7元,甚至高至几十元。
不可否认,从颜值、IP、盲盒等维度入手的“文创革命”的确能抓住了青少年群体的消费心理。但文具品牌溢价的同时,也凉了不少家长的心。如今盲盒经济逐渐告别野蛮生长,文创联名赛道愈发内卷,加之国人消费观念日趋理性,国产文具的高端化能否步入良性正循环充满变数。
B端业务难撑盈利大旗
启动科力普业务,是晨光多元化战略的重要一步。
资料显示,2012年晨光股份成立晨光科力普,主营办公直销业务,定位是B2B综合电商平台,主要为政府、企事业单位提供高性价比的办公一站式采购服务。
过去数年,科力普的营收规模水涨船高,从2016年的5.16亿元增长至2022年的109亿元,营收占比从2016年的11.06%攀升至2022年的54.51%,成为晨光股份的“增长之光”。
然而,办公直销业务的钱并不好赚。Wind数据显示,晨光股份办公直销业务的毛利率持续下滑,从2019年的13.09%降至2023年6月末的7.76%;同期,公司综合毛利率从24.49%降至19.36%。从中推测,由于办公直销业务收入占比的不断提高,其对公司综合毛利率也造成一定的拖累。
不能否认B端业务的高成长性,但政企办公领域竞争激烈。据公开报道,2021年,得力的政企采购业务就已突破100亿,齐心文具近90%的营收都来自B端。这些都导致科力普无法通过提价提升毛利率。
与此同时,B端业务的特殊性使得其难以规避应收账款风险。截至今年上半年,晨光股份的应收账款35.90亿元,同比增长21.4%。晨光股份此前回应,应收账款大部分来源于科力普,央企、政府、金融客户的账期较一般企业更长。
曾有分析人士指出,企业在与政企类用户的交易谈判中,博弈能力较差。在未来,面向政企采购的业务发展或受限制。
凭借过去10年的高速增长,科力普成功扛起公司的营收大旗,然而传统核心业务始终是晨光业务的基石,贡献75%的净利润。
更为重要的是,在2022年业绩不达标的情况下,晨光股份将业绩考核期限顺延一年。按照当前考核指标,2023年的净利润目标为17.6亿元,意味着下半年的要完成超11亿元的净利润,压力之大可见一斑。
![]()
有机构8月在对晨光股份调研时,提出“晨光科力普战略的重心更偏利润端还是更偏规模”的疑问。对此,晨光股份管理层坦言,科力普起步的时候,前5年会更倾向于关注销售增长和规模,因为tob业务有一定规模才能支撑基础的费用和成本。今年是第11年,近5年的净利润增长率是非常快的,每年净利润的增长率都超过销售增长率,经营质量持续优化。
不难看出,晨光股份已不满足于营收的稳健增长,其对利润的渴望愈发强烈。但至少到目前为止,无论是启动科力普业务、优化线下高端零售渠道、亦或布局线上电商,晨光耗费十年打造的第二增长曲线仍然扛不起盈利大旗。
(本文首发于钛媒体App,作者|马琼,编辑|刘敏)







快报
根据《网络安全法》实名制要求,请绑定手机号后发表评论