![]()
图片来源@视觉中国
文 | 娱乐独角兽,作者| 明明,编辑| 胡圆圆
继抖音之后,携程迎来了又一个意欲争夺市场份额的强劲对手——小红书。
早在2020年,小红书便尝试过与第三方平台小猪短租达成合作,首批入驻民宿超300家,并与酒店民宿公寓PMS管理系统“订单来了”,超过3000家民宿进驻小红书企业号。同年推出Red City城市计划,对浙江湖州、台州旅游资源进行全方位推广。
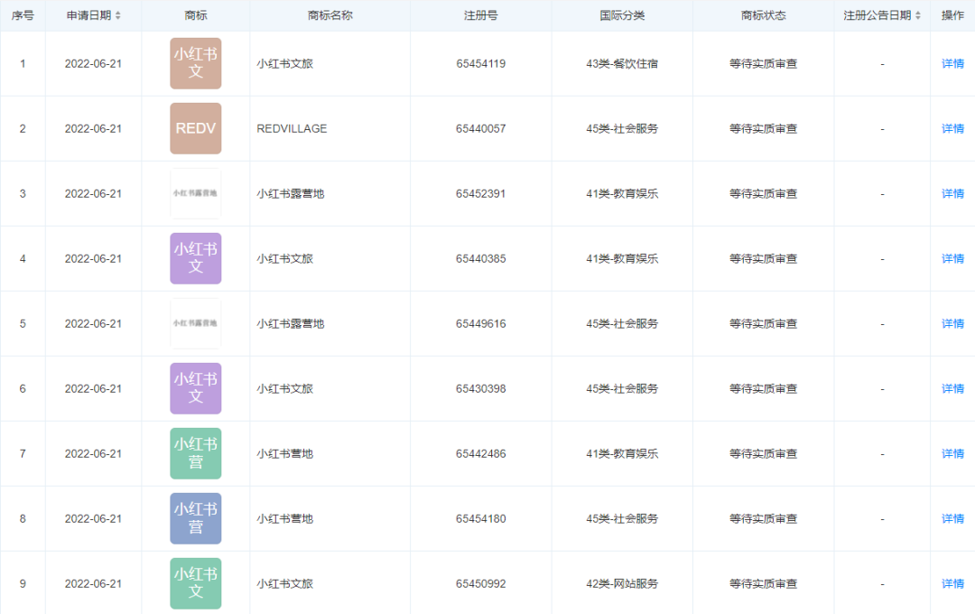
今年,小红书对旅游行业上游布局明显加速。2022年,首届长三角露营大会,平台官宣在安吉县小杭坑露营地推出小红书首个线下营地。近日其关联企业小红书科技有限公司申请注册多个“小红书露营地”、“REDCAMP”、“小红书营地”、“小红书文旅”等商标。平台联合十几家营地供应商推出“露营券”。7月27日起,在小红书搜索“露营券”可购买这些营地的露营组团套餐。——“露营”成为小红书开展旅游新业务的关键词。
![]()
企查查显示,7 月 11 日璞真乡里(上海)旅游文化有限公司成立。该公司由小红书科技有限公司全资持股,经营范围包括酒店管理、餐饮管理、票务代理服务、休闲观光活动、露营地服务、游览景区管理、游乐园服务、公园、景区小型设施娱乐活动以及旅游开发项目策划咨询。
小红书做旅游并不让人意外,和平台调性、用户需求等契合度也相当之高。但行业竞争已近白热化,此时入局还有优势吗?作为新兴生活方式社区,小红书的互联网基因将会带给旅游行业怎样的影响?
乘着露营的东风,“网红推手”加速变现步伐
疫情三年,使得旅游行业发生了方方面面的深刻变化。
出境游几近停滞,国内小众旅行地走红,不少城市出市都变得困难,郊区游受到追捧,“露营”“浆板”“骑行”“陆冲”等原本属于垂直圈层的活动被重新发掘,并成为 “城市旅游”(City Tour)的新热门项目。年轻人们借此拥抱自然,重新发掘被忽略的城市之美。
![]()
小红书强劲的种草能力也在这个过程中凸显出来,从“露营”“浆板”到“骑行”“陆冲”,每一个风口后面都有它的身影。小红书上关于骑行的笔记多达94万篇。官方数据显示,2022 年 4 月,露营相关笔记同比去年增长 997%,截至目前,有关的笔记内容已经累计超394万篇。今年清明假期期间,“飞盘”相关内容搜索量比去年同期增长约24倍,5 月同比增速扩大至 62 倍。
上文已经提到,小红书将露营这一细分赛道,作为朝文旅行业进军的重点,这一决策符合平台一贯谨慎的风格,同时也能够为其旅游业务拓展布局试错。相比其他赛道,从品类丰富度,覆盖年龄层,客单价,成长潜力,场景延伸来说,露营商业价值更高。而其认知度也是最高的,从数据来看远高于其他活动,笔记数量与“美妆”等核心内容品类持平。
![]()
精致露营(Glamping)不但带有休闲意味,更有个人审美消费力乃至社会阶层展示、社交等“附加值”,因而在定位最符合的小红书上集中爆发,并进一步深度裂变,与垂钓、皮划艇、浆板等结合,出现新的玩法。可以确定的是,在未来几年,露营热不会轻易消退,2022年露营市场规模预计超过350亿。
易观分析发布的报告《2022年中国露营市场专题洞察》中指出,小红书是目前用户获取露营信息、分享露营体验的首选平台。同时,“大热荒野”等网红营地品牌都是在小红书成长起来的,成立于2020 年底的大热荒野在半年时间里达到了千万元销售规模,70%订单都来自小红书。据娱乐独角兽对某营地运营负责人的采访,国内营地都十分重视小红书渠道的运营。
露营的变现可能,除了整合营地资源,从订单金额抽佣之外,还有走向线下,直接变身打造营地,以及丰富品牌合作场景,开展垂直电商业务,如平台今年推出的“户外生活方式买手店”小绿洲,涉及露营、骑行、路亚、滑雪、冲浪等潮流户外活动的穿搭、装备。
![]()
旅游行业供应链分散而复杂,针对酒店、机票等标品,不少消费者倾向于低价优先,而并没有建立起情感粘性。民宿市场鱼龙混杂,品控难以标准化。避开与具备资源优势的携程正面火拼酒店、民宿在线预订,选择从轻量化的露营经济切入,开发其周边产业价值,不失为明智之举,这一整套走精品路线的差异化打法,或许可以复制到其他“城市旅游”项目当中,进一步深化文旅产业的布局。
小红书为什么要做旅游?
当前小红书已完成7轮融资,最新一轮融资在2021年11月的5亿美元E轮融资,投后估值高达200亿美元。上市迟迟没有进展,是否能够支撑起“2个B站”的估值,小红书仍需讲好商业化的故事。
更早之前,小红书曾经将电商业务作为变现重点,创始人喊出“电商负责赚钱养家”。但跨境电商没有真正做起来,2020 年开启直播电商,2021 年小红书切断淘宝外链功能,正式推行 “号店一体”,但供应链、物流、支付等方面存在短板,自营电商福利社真假存疑,用户心智也未能培养起来,许多用户习惯于在小红书种草,去淘宝拔草。
布局旅游业务,是小红书拓宽商业变现这盘大棋的新招。天风证券研报显示,2020年小红书的广告收入约占总营收的80%。仅仅依靠广告收入,受经济周期影响过大,单一营收结构是所有内容平台都需要打破的困局。
B站近年来布局游戏、直播等业务,成效显著,抖音更是从本地生活到OTA,四面出击,树敌无数。如若小红书能够真正打通“酷游种草-消费决策-产品购买-体验”的闭环,便能够有效抬高盈利天花板,推动营收结构多元化,平衡风险。
小红书还差点什么?
抖音、小红书等平台正在重塑当代年轻群体的旅行模式。过往,用户倾向于在确定目的地之后,再打开马蜂窝、携程等传统平台,——搜索攻略、机票、酒店,处于靠后一环。
![]()
那么小红书的核心优势则存在于整个旅游决策的前端,实现消费需求从无到有的创造,即“种草”和“分享”,很多用户被一张美图所吸引,由此开展一次说走就走的打卡旅行,并重返平台再次分享,加入UGC内容创作行列。这意味着平台在营销宣传、品牌推广等环节存在差异化优势,同时也意味着平台距离打通产品运营等后端环节,还要走很长一段路。
2019年数据显示,旅游是小红书平台上增长最快的内容。露营浪潮便是在不断地种草、分享过程中,实现了全民内容共建、推动特定生活方式出圈。去中心化的分发,让粉丝很少的素人也有可能获得万赞,另外有水军公司曾表示“小红书用户值钱,所以价格更高”——“广告收入/MAU”计算也显示,小红书单个月活用户年广告价值是知乎的3倍。
截至2021年11月,小红书拥有2亿月活,其中72%为90后、一般生活在一二线城市,女性用户比例为70%。其用户注重审美品味,生活方式更为精致潮流,乐于拥抱新兴事物。美妆护肤爱好者与轻奢旅行群体有着相当的重合度,在吃喝玩乐各个领域实现了消费升级。
独特的用户结构和内容分发逻辑,使得它相比其他平台具有客单价更高、高转化率、用户价值高、具长尾效应等优势。“订单来了”数据显示,旗下民宿在小红书的平均客单价约1600元,抖音约为900元,携程则在700元左右。
小红书、抖音入侵,让携程等平台意识到自身在年轻化内容环节的缺失,开始通过短视频和直播加速反击和自救。去年年末,马蜂窝推出全新攻略品牌“北极星攻略”。同程上线“同程臻汇选”频道,并发布了短视频激励计划。今年飞猪宣布推出官方直播间“飞猪逛吃团”,结合盲盒玩法打造超级旅行直播间。携程成立了“星球号”,合作伙伴可发布最新动态、商品链接,与消费者进行推广和互动。同时,携程社区以现金红包的形式引导用户发布旅行笔记,吸引创作者。
越来越多互联网大厂同样看到了“生活方式”的价值,尝试围剿小红书,从种草社区分一杯羹。如7月,抖音对图文种草功能进行“升级”,上线内容社区App“可颂”(已下架)。
群雄环伺,仍未能复制“第二个小红书”,但距离“下一个携程”,或是距离同样从内容社区转型OTA业务的“下一个马蜂窝”,小红书要补全的环节还有很多。
凭借流量优势打通线上线下,发力露营等只是第一步,从其新成立子公司业务范围来看,机酒预订、景点门票销售等所涉及到的OTA业务才是接下来的重点。但这部分基本属于传统业务,将会考验这家互联网平台如何在短时间内积累资源,打造产品壁垒,提高服务水平,否则便只能继续为同类平台导流。
另外,“露营”等主要在一二线城市走红,这意味着相关业务发展到一定阶段后,将会面临破圈瓶颈。相比6亿日活的抖音,小红书缺乏相应的规模优势。
另外,“滤镜景点”“虚假笔记”的阴影仍笼罩在平台身上。去年国庆,三亚清水湾蓝色小屋、云南澄江网红沙滩、内蒙网红帐篷营地等小红书上网红景点集体翻车,引发全网吐槽,人民日报批评,为此,小红书发布道歉声明,并推出景区评分榜、踩坑榜,为用户决策提供更多元的信息。而平台亲自下场做旅游,消费者需要以评分体系为参考,势必对真实性提出更高要求,整治内容乱象依然任重而道远。
商业化与优质社区氛围天然存在着悖论。一次次置身舆论漩涡中心,小红书这次商业化新探索能否成功?我们将持续关注。







快报
根据《网络安全法》实名制要求,请绑定手机号后发表评论
今年,小红书对旅游行业上游布局明显加速
旅游是小红书平台上增长最快的内容