![]()
文 | 雷科技leitech
被苹果扼杀在襁褓中的项目有不少,但AirPower肯定是最令人惋惜的一个。严格来说,AirPower已经半只脚出了娘胎,但最终只能落得个无疾而终的下场。就像小米的MIX Alpha一样,苹果AirPower作为已经发布的产品最终却无法上市开售,这款曾令人期待不已的关键手机配件只能存在“如果的世界之中,确实令人遗憾。
为什么说AirPower的失败令人惋惜?除了“已经发布但未能开售”这一点外,更重要的是AirPower在理想状态下的使用价值。在原来的设计中,AirPower能够同时给多款苹果设备充电,比如说iPhone和Apple Watch,更好地发挥无线充电功能的实用价值,提升苹果生态内设备的使用体验。
![]()
AirPower宣布取消上市后,苹果并未能够推出类似的产品进行补位,后续推出的无线充电产品如MagSafe充电磁贴等虽然也有闪光之处,但在苹果生态中的使用体验还是不如AirPower。
不过,这或许是个好消息:彭博社的报道指出,虽然AirPower没了,但“苹果仍在研究短距离和长距离无线充电解决方案,希望做出一种能够同时为多个产品充电的充电器”。换言之,即使苹果无法让AirPower来到市场上,但他们依然希望能够推出类似的产品以提升用户体验。
虽然我们等不来AirPower,但更好的充电体验始终是有盼头的。
AirPower是如何让苹果束手无策的?
强如苹果还有搞不定的事情?对大多数用户来说,这似乎是“不可思议”的。但事实就是如此,AirPower最终难产的原因也没有那么多的阴谋论,只有一个“太难了”。
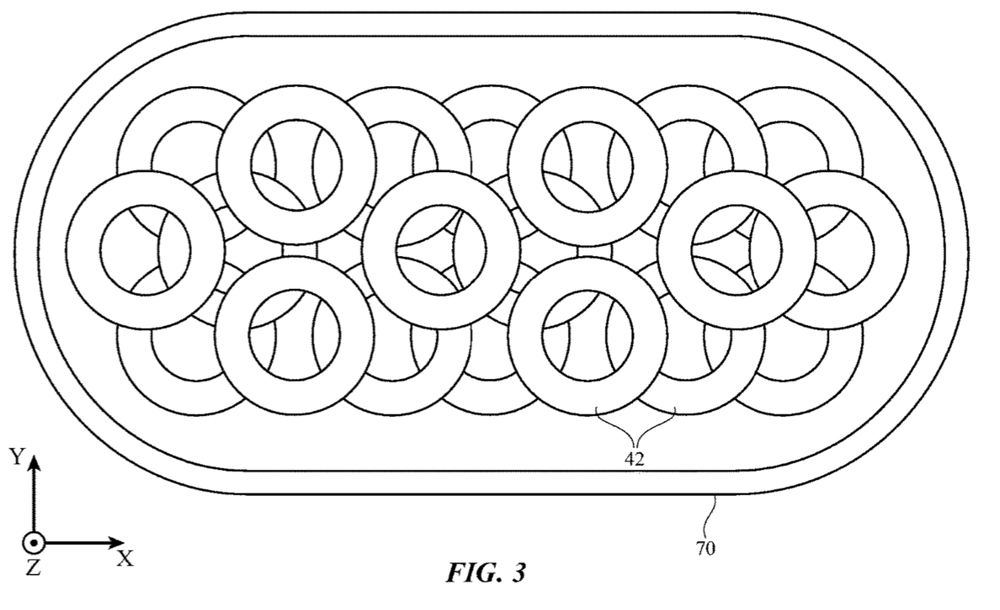
倒不如说,是苹果对AirPower和当下的技术有了不切实际的要求。在苹果计划中,AirPower作为“划时代的配件”具备同时给多个设备充电的能力,给人的感觉就像是一艘航空母舰,而我们的iPhone、Apple Watch等就像是停在航母甲板上等待补给的飞机们。
![]()
无论是当时还是现在,这个设想都是“划时代”,甚至说“前无古人”的。虽说市面上也的确有一些充电板可以实现“多设备同时充电”,但AirPower在理想中要做到“产品随便一放就能充电”,而不需要放到特定地方。不过,别的厂商做不到AirPower那样惬意的原因,也是AirPower难产的原因。
“苹果搞不定发热。”
大体来说,如果AirPower真的要像预想那样“随便一放就能充电,而且还同时支持多款设备充电”,那就需要在底座里埋下大量的无线充电线圈。同时,还得要求这些线圈同时马力全开地工作,才能实现上述需求。而实际情况是,苹果发现当一个设备中埋下这么多的线圈,一旦设备开始工作那热量就压不住了,在后期的开发中苹果甚至加入了主动散热系统(风扇),但依然无法解决上述问题,只能于2019年宣布作罢。
![]()
在苹果之外,三星也推出过类似的充电设备,2020年底推出的“三合一无线充电板”部分实现了AirPower的功能,比如说可以同时给三款设备无线充电,但由于不同的设备只能放在对应的充电区域(比如说手表就只能在手表区域充电),所以在具体实现上和AirPower的构想仍有不少差距。
![]()
这也说明,即使以今天的目光来看,最早出现在2017年的AirPower依然是大胆、激进的,以至于没有任何的技术可以在控制体积和成本的情况下将产品制造出来。
其实从后期iPhone无线充电的表现、MagSafe无线充电无线充电器的表现来看,苹果的确不太擅长解决设备上的散热问题。虽说苹果依然不死心地在寻找更好的解决方案,我们对正在开发的无线充电板也抱有怀疑。
个人觉得,对苹果来说“有与无”的重要性远要比“好或差”重要,苹果正在谋划的、未来要推出的无线充电板不太可能拥有比肩AirPower的实用性和创造性(前提是这款产品会在近期面世),它的出现更多是填补一些产品线层面的空缺与不足,为的是抢占可观的充电配件市场。
无线充电板,苹果配件生态中不可或缺的一环
可能连苹果都没有想到,配件居然这么赚钱。根据苹果在不久前公布的第四财季数据我们可以得知,包括智能穿戴、家居和配件的“其他”业务取得了销售额同比增长11.54%的成绩,为87.85亿美元,占到了总营收的12%。
不起眼的“5V1A”充电头、被诟病质量不佳的充电线、尽管效率不佳但依然受到追捧的MagSafe无线充电器……这些被网友疯狂吐槽的配件,竟撑起了近百亿的生意,要知道这还只是一个季度的营收数字。
当中最值得一提的莫过于MagSafe无线充电器,从市场表现来看MagSafe无线充电器的表现是超出预期的。当然,苹果没有公布具体的销量数字,不过在天猫上倒是获得了11000+的销量,考虑到329元的定价和散落在其他平台上的订单,其表现怎么也不能算差。
![]()
同时我们也见到,虽然苹果自己没有太多的无线充电设备(目前只有MagSafe充电器、MagSafe双项充电器两款),但和第三方品牌合作推出了多款用途各异的无线充电产品,整体阵容颇为丰富。
![]()
眼看这些功能一般但售价甚至达到四位数的无线充电设备,难道苹果不会眼红吗?对苹果来说,不是核心技术的产品可以交由第三方合作方生产然后放到自家商城销售,但关乎到差异化体验的核心产品,他们依然会选择自己打造,以保证最佳的用户体验(尽管从MagSafe充电器来看这种说辞有些讽刺)。
当然,如果从长远来看苹果正在构建的生态,正在以无线为主。越来越多的设备支持无线充电,从iPhone到Apple Watch到AirPods,乃至未来可能推出的AR眼镜(当然苹果汽车就不可能和AirPower有关了),毫无疑问都会将无线充电作为重要的补能手段。按照苹果性格,他们善于改变、灌输给消费者独特的“需求痛点”,比如说“通过应用商店下载应用”、“利用面容识别去解锁手机和保证支付安全”等,这些从前没有的痛点都是苹果利用独有且完整的生态去构建的。
换言之,如果苹果想要让消费者喜欢甚至依赖上无线充电,培养起独有的产品使用习惯,那么便会自发地为消费者提供必要的“体验基础”,也就是无线充电板。可想而知,苹果肯定会推出无线充电板,要不是克服了技术难题就是做功能简化,总之它的出现是必然的。
不过,如果你要问苹果推出AirPower无线充电板还会不会给行业带来什么推动作用,小雷可以明确地说“不会”。
为什么呢?其实从无线充电的使用频率和具体表现来看,安卓手机厂商才是走在前头,无论是发热量控制还是功率,苹果早已被甩得远远的。同时,高速甚至是“超速”的有线充电能力也让安卓智能手机用户的补能选择变得多样,有线充电也好无线充电也好,都已经有成熟的生态和不错的体验,他们并不是十分需要将手机、手表乃至耳机长时间地放在无线充电板上充电,毕竟这些产品不像iPhone,充满电得好一会。
另外,如果苹果真的推出了优化版的AirPower,也别急着喊“智商税”,如果苹果真的能把无线充电玩好、玩转,你我使用iPhone的习惯可能真的会从此改写。






快报
根据《网络安全法》实名制要求,请绑定手机号后发表评论