![]()
文 | 雷达财经,作者 | 张凯旌,编辑 | 深海
在银行存了33亿,有28亿竟不翼而飞。
这是近期发生在渤海银行南京分行与江西济民可信集团有限公司(下称“济民可信集团”)下属两家子公司无锡济煜山禾药业股份有限公司(下称“山禾药业”)和南京恒生制药有限公司(下称“恒生制药”)之间的悬案,而被担保方则是华业石化南京有限公司(下称“华业石化”)。
值得一提的是,济民可信集团称,在其发现此事后,且渤海银行高管已经亲承这是银行漏洞的情况下,渤海银行又强行划扣了济民可信集团4.5亿存款。
公开资料显示,渤海银行是“最年轻”的全国性股份制银行,济民可信集团则是大健康领域知名公司,曾多次位居中国医药工业百强前十。
目前,涉事双方均称已向警方报案,但案件尚未有最新进展,外界认为,渤海银行涉嫌“瞒天过海”。
北京市中闻律师事务所李亚律师向雷达财经表示,如果银行确实存在济民可信集团所述情形,则涉嫌违反《商业银行法》、《银行业监督管理法》,相关工作人员或涉嫌挪用资金罪或违法发放贷款罪。
一桩核实电话,暴露28亿存款挪用大案
8月19日,山禾药业法人代表於江华接到一通来自渤海银行南京分行营业部的来电,电话中工作人员称,有人正在柜台将电子存款转为纸质存单,并以此为他人贷款办理质押,来电是为核实:“企业是否有办理存单质押业务的真实意愿?”
电话内容令於江华大为意外,因为公司存款从未给第三方办理过任何担保、质押,其立即向上级公司济民可信集团的资金管理部汇报了情况。
济民可信集团资金管理部经理熊点也非常意外,其在与渤海银行南京分行柜台确认情况后当即要求银行报警,并数次尝试询问5亿元存单质押业务的细节,但均未获得有效信息。
次日熊点还发现,恒生制药存入渤海银行“新易存”的12亿存款已被质押,无法支取,更为严重的是,山禾药业与恒生制药共计存入28亿元的每一笔都已被质押,无法支取。
8月21日,济民可信集团从渤海银行南京分行营业部总经理胡兆峰处得知,早在2020年11月,银行就已经开始用山禾药业的存款为华业石化的票据融资进行质押担保,且济民可信集团的每笔存款都是在存入后的几天之内就遭到质押。
济民可信集团工作人员称,当晚,渤海银行南京分行营业部总经理助理管鹏程还承认,确实没有与两家存款企业的任何人沟通,并表示这是银行的漏洞,办理相关业务的验印环节,材料中印鉴只要有80%-90%相似度就可以。华业石化资金部总监董某也称,虽然与渤海银行早有沟通,但从未与济民可信集团任何人有过接触。
值得注意的是,在济民可信集团向渤海银行送达“不得进行划扣和其他违规违法操作”的通知函后,渤海银行南京分行仍在8月25日因华业石化未能在还款日偿还贷款,强行划扣了恒生制药5亿元存款。
而在渤海银行南京分行“瞒天过海”期间,2021年3月,无锡方盛会计师事务所还曾在例行调查山禾药业时向渤海银行发出询证函,对于函中“山禾药业在渤海银行的7笔存款共计10.1亿不存在冻结、担保或其他使用限制”的内容,渤海银行亦回复称:“经本行核对,所函证项目与本行记载信息相符”。
9月3日,基于上述情况,济民可信集团选择向无锡警方报案。10月24日,在私自挪用存款一事被媒体广泛报道后,渤海银行南京分行发表声明,并表示已向警方报案。
![]()
律师李亚认为,作为储户在完成存储后相应的资金安全风险就已经转移给银行,银行应当对储户的资金安全负责,如果银行确实存在上述情形,属于银行的风险管理和内部控制制度没有落实到位,违反了《商业银行法》《银行业监督管理法》的相关规定。银行不仅要承担法律责任,还应承担本案中储户存款本息损失的赔偿责任。
“同时,银行的相关工作人员可能会在银行的资金使用和贷款发放两个方面存为违法违规的行为,情节严重的可能会涉嫌挪用资金罪或违法发放贷款罪。”
华业石化被指假央企
渤海银行南京分行的操作令人大为不解,而本案中被担保方华业石化也是疑点重重。
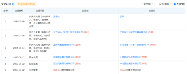
据天眼查,华业石化成立于2019年,原名润港石化南京有限公司,业务范围包括危险化学品经营;石油制品、燃料油、润滑油的销售等。
雷达财经注意到,将华业石化进行股权穿透后,其为北京华昌置业有限公司全资控股的孙公司,而华昌置业又是中国石油天然气集团有限公司的子公司,如此一来,华业石化就有了央企背景。
![]()
然而,一个月前的9月26日,华昌置业曾发表声明,称发现有不法分子冒用公司名义虚假注册了江苏华之业能源发展有限公司、山东国油华锦石油科技有限公司和国化实业集团(河南)有限公司。其中,华之业能源正是华业石化的母公司。
华昌置业还表示,“与该三家公司不存在任何形式的出资、隶属、关联或实际控制关系,也从未与三家公司或其法定代表人或其任何人员有过任何形式的沟通与合作,或授权该三家公司或其任何人员使用我公司名称、字号、商号、注册商标等进行商业宣传或其他活动。”
一纸公告,让华之业能源以及其旗下的华业石化直接沦为了“假央企”。不过雷达财经梳理发现,华业石化在冒充“央企”方面已经是惯犯了。
2020年6月22日之前,华业石化的股东是江苏润港石化有限公司,后者穿透股权后隶属国家电力公司旗下;2020年6月22日至8月17日,华业石化股东变更为华龙国业集团有限公司,虽然任期只有不足两个月,但在此期间,华龙国业自身的股东曾由自然人刘明国变为中海油山西能源投资有限责任公司,这是中海油旗下的正统央企。不过这家央企担任华龙国业股东的时间只有22天,8月6日,刘明国重新成为华龙国业股东,而这也加速了华业石化的“离开”;2020年8月17日至2021年6月4日,华业石化的股东变为上海芮盈贸易有限公司,后者的投资人甘肃昊阳商贸服务公司,是中国石油销售西北有限公司的子公司。
对此,中石油集团新闻处相关负责人曾在接受采访时称,“涉及西北销售的,核实为假冒,去年已维权。”昊阳商贸也表示,公司从未向芮盈贸易进行过投资,芮盈贸易是在未经公司同意情况下进行的虚假注册。
唯一的例外可能是6月4日至7月26日担任华业石化股东的东方鸿达(北京)投资有限公司,该公司的网址目前已是无法打开状态;7月26日之后,华之业能源持续担任华业石化股东至今。
此外,根据工商变更记录还可看出,华之业能源最初是由华业石化自己投资成立的,之后通过股权的一系列腾挪,才摇身一变成为了华业石化的母公司、华昌置业的子公司。
![]()
连续与国家电力、中海油、中石油“攀亲”,华业石化是怎么做到的?
雷达财经致电南京市玄武区市监局,对方表示:“我们这不管是设立公司还是股权变更,是要求股东公司提供他们的营业执照副本复印件并盖公章的,股东公司在股东会上的决议也要盖公章,不是随便讲一下就行的。”
有分析认为,华业石化还存在伪造公章的可能,而这也正好对应济民可信集团对此次事件的猜测。10月25日,济民可信集团在接受采访时表示,银行用于办理质押担保的材料中,应有大量伪造的公章,不排除有银行人员牵涉其中。另据了解,在长达近一年的质押过程中,相关材料有300多个公章疑似伪造。
如果该事实属实,则相关员工还涉嫌伪造公章罪。
渤海银行屡因违规被罚
处于事件风波中心的渤海银行并非等闲之辈,其成立于2005年,是中国唯一一家外资银行参与发起设立的股份制商业银行,也是1996年至今国务院批准设立的唯一一家全国性股份制商业银行。
2020年7月,渤海银行登陆港交所,成就了2016年来港股最大的银行股IPO项目,其股东阵容中不乏天津泰达、渣打银行、中海集团、泛海实业等多个巨头,其中央企股东总持股比例达37.01%,地方国企股东持股比例达25%。
作为“最年轻”的全国性股份制银行,渤海银行发展十分迅猛,但其在招股书中也揭示了现阶段自身存在的不少缺陷,其中以合规和内控方面的不足尤为突出。
早在第二个五年发展战略规划中,渤海银行就将上市列为最重要的战略目标,时任董事长刘宝凤不止一次在公开场合提到渤海银行的上市愿景。然而渤海银行成立之时,曾为在股东多元化方面开展创新引入了天津信托作为股东,而按照IPO审批惯例,公司上市前存在的信托计划持股部分必须进行清理,否则不予放行。
2017年,渤海银行引入泛海实业作为股东,解决了信托持股问题,上市计划正式提上议程。在时任董事长李伏安看来,银行资本消耗较大,上市是补充资本充足率的重要手段。
为实现这一计划,公司加速扩张信贷规模,猛攻消费金融等领域,试图缩小与其他全国性股份制银行间的差距。
而渤海银行此举也确实收到了一定成效,2019年公司净利润同比增速15.7%,在所有全国性股份制上市商业银行中排第一;2017-2019年,公司贷款年复合增长率16.4%,在全国性股份制上市商业银行中排第二;截至2019年三季度,渤海银行借助加快信贷投放,成功实现了总资产规模破万亿,达1.09万亿元,较2014年增长63.72%。
与此同时,渤海银行也付出了不小的代价。期间其不良率快速攀升,从2014年的1.2%升至2019年的1.78%,其中2019年高于行业平均水平0.12个百分点。
更值得关注的是,公司在合规方面的问题开始集中爆发。有媒体经不完全统计得出,2017年之后的三年时间内,渤海银行合计收到的银保监会罚单总计有32项,累计罚款金额高达4282万元,处罚原因主要集中在个贷与放贷领域违规放贷、票据承兑违反审慎经营规则、虚增存款、同业理财违规等问题。
而在上市后,公司内控方面的问题仍在延续。2020年9月,渤海银行南京分行因“贷款资金回流用于银行承兑汇票保证金、存在存贷款挂钩行为、为同业投资业务违规提供信用担保”被银保监会江苏监管局处罚金125万,并没收违法所得6577.56元。
2021年5月21日,渤海银行总行因34个问题被银保监处以9720万元的巨额罚款,其中第八条直接点名渤海银行内部审计严重不足。其他涉及内控的违规项还包括瞒报案件(风险)信息、未落实授信审批条件发放贷款、银行承兑汇票保证金管理不规范、未严格审核银行承兑汇票贸易背景真实性。
不过也有上市股份制银行从业人员向雷达财经表示,银行内部办理这种业务手续十分繁杂,不仅材料堆叠,需要过的环节也不是一个两个,想要长期保证所有流程全部通关并非易事。
“质押方是知情的,现在见到贷款方有风险不愿意继续了。”有网友猜测。
有关渤海银行28亿存款罗生门的最新情况,雷达财经将持续关注。






快报
根据《网络安全法》实名制要求,请绑定手机号后发表评论