![]()
文丨创业最前线,作者丨付艳翠,编辑丨冯羽
“有的男人那么普通,却那么自信”——凭此金句,脱口秀演员杨笠一朝扬名。
有人认为她的段子简直就是说出了女性的心声,吸引了不少粉丝。也有人认为她的段子涉及性别歧视,争议背后,黑粉也随之而来。
上月,英特尔请杨笠代言广告再次引发争议。一些男性网友表示,杨笠没资格担任“以男性用户为主”的英特尔产品宣传者,随即,英特尔下架了与杨笠相关的广告内容。此举一出就引发了女性用户的不满,双方在网上展开了激烈“骂战”。
不得不说,听完杨笠的段子,不管你是怒了还是爽了,抛开争议回归到脱口秀行业上来看,都说明2021年脱口秀成功出圈了。
最直观的是线上综艺的火爆。《吐槽大会》和《脱口秀大会》的总播放量分别高达88亿次和40亿+次。
线下“开放麦”的风口似乎也已经到来。笑果文化透露,其2018年上线的小程序包含演出信息查询、订单购票、演员上台报名等功能,目前用户规模已达百万级。去年7月入驻上海新天地广场的笑果工厂,到去年年底,已经举办了超过200场商业演出,上座率达99%,剧场自然客流量超过10万人次。
如今,笑果文化在脱口秀本行之外,也在持续探索商业边界,比如与腾讯、阿里、滴滴、OPPO、京东、支付宝、美团等品牌实现跨界合作。
种种迹象表明,脱口秀的商业之路似乎正在走出新的可能。但作为舶来品,国内的脱口秀还处于早期阶段,还在“摸着石头过河”的脱口秀市场,能否成为大众娱乐生活里的习惯?
1、不再神秘的脱口秀
脱口秀行业去年的业绩确实喜人。
据笑果文化透露,线上大型网综《吐槽大会》累计88亿人次观看,《脱口秀大会》三季总播放量超过40亿,豆瓣评分8.1。《周六夜现场》(SNL)首次落地中国,累计12亿人次观看。
受到线上脱口秀节目的吸引,越来越多的消费者开始关注脱口秀,愿意走到线下去体验“说话”的魅力。
两个月前的某个周末,在北京工作的95后张悦就是被《吐槽大会》《脱口秀大会》吸引、对线下开放麦好奇,从而买票体验的消费者之一。
“说实在的,现场脱口秀演员爆出的梗有好笑的,也有不好笑的,但现场氛围挺吸引人。” 张悦回忆那一天的消费体验时说,她那天去的场馆位置不难找,虽因不是李诞、池子这些知名脱口秀演员主持,人并不是特别多,但第一次走到线下看开放麦的体验却特别好。
张悦告诉「创业最前线」,少了屏幕的隔阂,舞台上的脱口秀演员们和大家一样是普通人,坐在她周围的观众都是年轻人,有刚毕业的大学生、研究生等,在演员与观众们时不时调侃互怼之下,时间很快就过去了。
“虽然现在让我回想哪些段子吸引我,我才发现啥都没记住,但我真地笑过。”张悦表示,一场5、6个节目下来,她就喜欢上了开放麦的氛围,之后还会继续去现场体验。![]()
(图 / 笑果工厂外景)
就连一直没有关注过脱口秀行业的互联网观察人士也对「创业最前线」表示,近期朋友圈里分享其他文娱活动的人都比较少了,新春时候分享电影的人较多,“近期回忆了一下,朋友圈里蛮多人会去看脱口秀并分享。”
事实上,从脱口秀机构去年的成绩里,很明显能感受到观众对脱口秀高涨的热情。
2019年,笑果文化完成近30场巡演,全国各城市超过1.9万名观众。去年,虽然上半年海外巡演被取消,全国巡演也受到比较大的影响,但并不影响整年的业绩。
笑果文化在上海有两个自营场地,分别是笑果工厂和山羊GOAT。其中,笑果工厂在去年与瑞安集团完成战略合作,并在7月正式入驻上海新天地广场。
笑果文化透露,自7月开业到去年年底,新天地店共举办超过200场商业演出,平均每月服务演出观众超四千人次,上座率达99%,剧场自然客流量超过10万人次。![]()
(图 / 笑果文化演出现场合影)
当脱口秀不再是一个圈子游戏时,创业者也蜂拥而至。
一位上海的脱口秀从业者向「创业最前线」感慨道,现在上海的脱口秀确实比较蓬勃,“大概有十几家俱乐部了。”
虽然行业内容供给增加了,但头部演员的演出仍是一票难求。如呼兰、周奇墨、李诞等知名脱口秀演员们的演出,想要体验一次并不容易。“(在上海)票买不到很正常,哪天还有余票可能就是个新闻了。”上海的一位媒体从业者刘亮表示。
显然,在过去这一年,随着线上脱口秀综艺的大火,脱口秀已经成为更多年轻人娱乐的新选择。而笑果文化们也在观众的热情追捧下,伺机寻找更多“起飞”的机会。
2、摸着石头过河
说起脱口秀,其实国内的观众并不陌生。“脱口秀”是对英语“talk show”的音译,即谈话节目。比如1992年上海东方电视台开办的《东方直播室》、央视的《实话实说》《艺术人生》、凤凰卫视的《锵锵三人行》《鲁豫有约》和东方卫视的《东方夜谭》都在此范畴。
直到近几年,受到国外脱口秀影响,脱口秀逐步摒弃了嘉宾访谈模式,反而更接近于欧美的单口喜剧、单口相声,以节目主持人的个人特色为支撑,比如《壹周立波秀》《今晚80后脱口秀》《脱口秀大会》《吐槽大会》等节目。
但国内脱口秀仍属新鲜事物,和美国成熟的脱口秀产业链相比还非常稚嫩。
脱口秀的起源可以追溯到18世纪英格兰地区的咖啡吧集会,在集会上人们讨论各种社会问题,而类似形式真正兴起是在美国。
基于深厚的酒吧文化和剧场文化,脱口秀逐渐成为美国大众文化的重要组成部分,在美国,各种各样的脱口秀节目更是占电视节目总量的40%。因此,产业链也相对成熟,从酒吧、剧院到电视节目、综艺、编剧、主持人等应有尽有。在美剧《了不起的麦瑟尔夫人》中,就讲述了一位才华横溢的主妇如何一步步成为顶尖脱口秀演员的故事。
数据显示,美国仅纽约就有上百个脱口秀俱乐部,粉丝规模庞大,一个演员一晚上可以赶五场演出。美国有成千上万个脱口秀演员,他们即便不上电视,只靠线下表演也能自给自足。
头部脱口秀演员更是凭借一张巧嘴赚得盆满钵满,例如美国知名脱口秀主持人奥普拉·温弗瑞就曾多次蝉联好莱坞十大最赚钱女明星排行榜首位——早在10年前,奥普拉一年就能疯狂吸金3.15亿美元。
但在中国,脱口秀生态尚不成熟,不少脱口秀演员收入甚至还挣扎在贫困线上。脱口秀演员李诞之前就曾在节目上开玩笑说,一度觉得公司要倒闭了。几年前,要是没有综艺带来的名气和曝光度,脱口秀演员只是一份没有达到白领工资水平的职业,养家糊口可能都做不到。![]()
(图 / 在笑果工厂演出时的李诞)
在海外,性和政坛人物往往是美国脱口秀的两大法宝。但在国内,脱口秀更多的是靠与观众形成“共识”来吸引消费者。
笑果文化联合创始人兼CEO贺晓曦也曾在接受媒体采访时表示,国外的脱口秀没有太强的参考意义。因为国内市场是自然生长的路径,正如李诞所说,中国的脱口秀已经进入了无人区,没有可以对标的东西可以进行参考,就是摸着石头过河。
可喜的是,国内脱口秀机构们已经试探着走出多元化商业变现之路。
除了线上综艺、线下演出带来的收入外,笑果文化的“喜剧+”整合营销,在去年也吸引到不少品牌关注。
比如去年10月,京东联合笑果文化举办了《脱口秀大会3.5季》,请来了李雪琴、周奇墨、何广智等当红脱口秀演员,为双11做预热。之后,阿里邀请了李雪琴举办了一场“天猫双11开放麦”讲脱口秀。苏宁易购也邀请了4位脱口秀明星组成“最强段子手”组合,围绕着购物、消费的话题,讲了许多关于苏宁双11的玩法及服务。
笑果向「创业最前线」透露,其合作的知名品牌包括腾讯、阿里、滴滴、OPPO、京东、支付宝、美团、海尔等。
此外,随着《脱口秀大会3》热播,2018年笑果上线的小程序用户规模迅速增长至百万级。
可以预见的是,从喜剧周边到短视频、直播等,“喜剧+”逻辑的商业模式未来值得期待。
3、小众的喜剧文化
虽然行业十分火爆,但是资本对行业却有不同的看法。
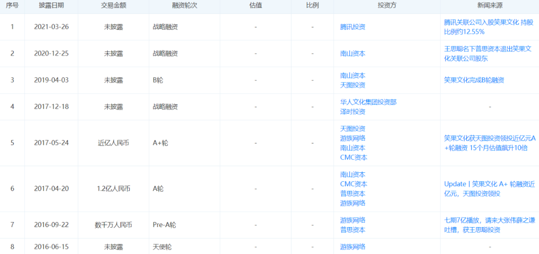
最受资本欢迎的脱口秀机构就属笑果文化。其在2016年至今的不到五年时间里,已经获得8轮融资。除在10天前,其获得腾讯的战略投资外,其投资方还包括天图资本、南山资本等。![]()
(图 / 截自天眼查笑果文化融资信息)
但也有投资人认为,这个行业本质上还是小众喜剧文化。很多资本们都望而却步,“因为行业属性决定了当你没有持续打动观众的作品时,很快就会被人遗忘。”
一知名投资机构投资人王伟对「创业最前线」直言,他们机构没投过脱口秀这方面的项目。
“不敢投。”究其原因,是脱口秀行业没有行业壁垒,不确定性太强。王伟认为,脱口秀不像芯片产业,“没有什么门槛,让人感觉就是说几句话,什么人应该都能去创业。”
让王伟打起退堂鼓的还是脱口秀的文化属性。在他看来,脱口秀是一门需要脱口秀演员不断创新,并在观众喜好的基础上持续写搞笑段子的艺术。但在文创行业持续的创新产出是很难的。“只能说它现在在风口,短期来说还算看好,但长期投资就会因为‘门槛低+创业文化属性’带有很大风险。”![]()
(图 / 《脱口秀大会3》点映)
事实的确如此,脱口秀不像女团选秀,演员只要砸时间练舞蹈和歌曲就能完成固定表演。而脱口秀则需要演员不断完成创作,让段子听起来更能打动大众。但也因为创作具有随机性和不确定性,就可能面对创新力不够,或者脱口秀内容无法真正深入人心的窘境。
李诞就曾透露,通常他写两万字,就得删掉一万五千字,段子的损耗率很高。所有的段子和笑点,还要通过读稿会进行集体创作,能够登台表演的段子一定是经过反复打磨的。
有网友分析过,像李诞、池子这样的表演者,每分钟要抛出3到4个段子,每个段子平均在15秒左右戳中观众的笑点,这种高强度的输出笑点对表演者的语言表达、节奏把控都提出非常高的要求。
脱口秀演员陈晓靖在一场名为《或许,喜剧属于治愈系》的演讲中也曾透露,当她真正接触脱口秀之后,才发现脱口秀真得太难了。
她说,刚开始以为脱口秀就是讲段子,好笑就行了。但随着越讲越多,越来越觉得脱口秀绝对不仅仅是讲段子。她认为,脱口秀更多的是一种苦中作乐的人生哲学。大家觉得好笑的事情,往往都包裹着演员的负面情绪和悲惨经历。
“因为观众太敏感了,他们能够轻易地察觉到你是否言不由衷,是否为了特意搞笑扭曲事实。所以最好的办法就是放弃抵抗,充分暴露自我。”陈晓靖认为脱口秀演员就是要把那些让自己“破碎”的东西,写成段子分享给大家,让大家在嘲笑自己的同时,在笑声中得到治愈。
创作人坚持自我剖析和持续输出内容,才是脱口秀行业热度长青的关键。但想要一直戳中观众心里的那根弦,确实不那么容易。
“现在的脱口秀是火了,但要说火到了像看电影一样,被大众当做了生活里的习惯,又还远远达不到。”上述媒体从业者刘亮表示,如今全国城市中,上海的脱口秀基因最强,很多人去上海也会尝试看一看脱口秀,“但就连上海的脱口秀产业也还是处于初期阶段。”
换言之,在国内脱口秀仍是小众游戏。「创业最前线」通过天眼查搜索关键词“脱口秀”,仅搜到72家相关公司。
![]()
当然,小众也并不代表没有机会。
就像贺晓曦曾接受媒体采访时所说,“作为公司,我们更关注的是市场有没有增长空间。现在还有那么多人没有看过《吐槽大会》,还有很多人没有看过线下脱口秀演出,这都是市场机会。”
或许哪一天,被综艺拯救了的脱口秀,就能凭借比传统相声更年轻,更潮流的内容,让更多观众心甘情愿为其买单。
注:文中张悦、刘亮、王伟均为化名。






快报
根据《网络安全法》实名制要求,请绑定手机号后发表评论