![]()
图片来源@少林寺官网
嵩山少林寺最近有点“火”。
前脚嵩山少林寺刚发函指责完森马服饰侵权,后脚就被质疑有“商标抢注”之嫌。据悉,嵩山少林寺已申请注册过666个商标。而少林寺最新回应称,少林寺的名称曾被人滥用,推出所谓“少林秘方”等,注册商标是为了保护少林品牌。
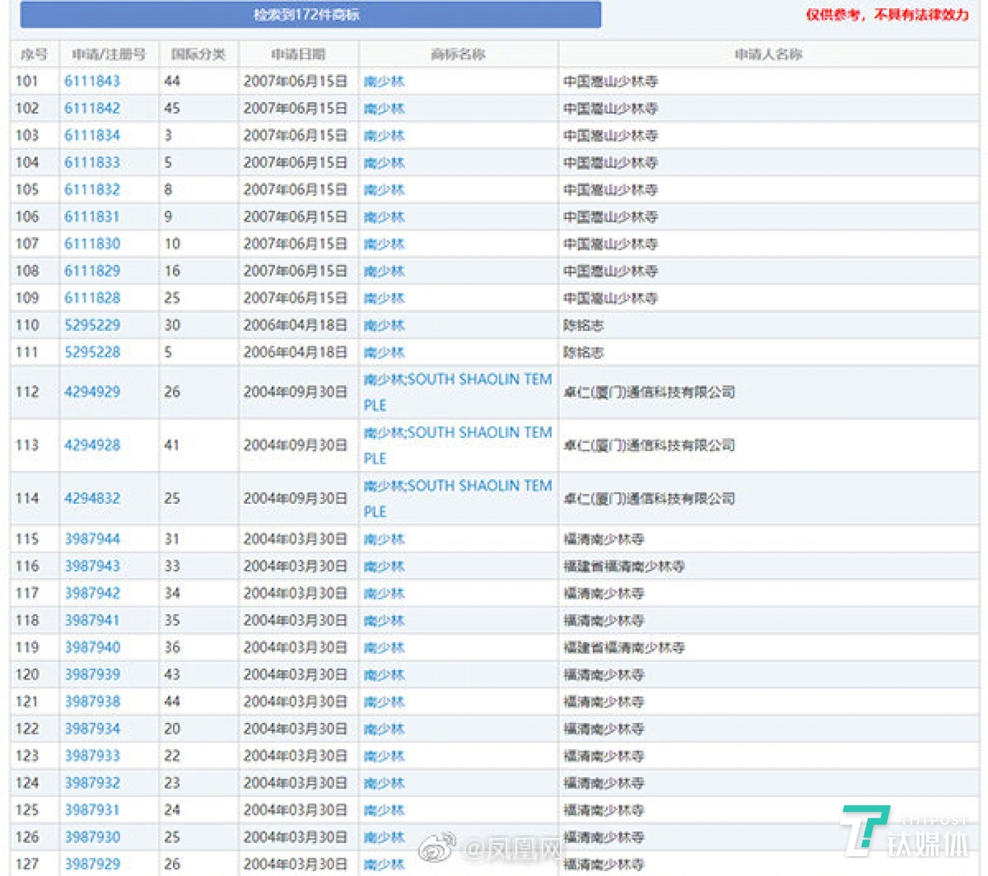
据澎湃新闻梳理,作为宗教机构,自上世纪90年代开始,嵩山少林寺广泛布局商标,截至2020年9月13日,23年间一共申请注册666个商标,八九成带有“少林”字样。
而引人争议的是,在2004年福建南少林寺注册“南少林”商标后几年,嵩山少林寺也注册了“南少林”商标,并将“东少林”、“西少林”、“北少林”全部注册成功。

图为嵩山少林寺注册的“少林”商标(不完全统计)
嵩山少林寺把“东、南、西、北”少林商标全部收入囊中,引发了网友争议。至于为何嵩山少林寺能注册涉及其他少林寺的商标,知产律师刘凯认为,或因商标审查主要依赖于人工,不同时段审查标准也会存在差异。
日前,服饰品牌森马上线了“国潮少林功夫森马”系列服装,嵩山少林寺发函称此举是对少林寺知识产权的侵犯,声明还指出,联名款服装易使消费者误认为上述服装是少林寺授权联名产品,或与少林寺相关合作单位存在特定联系,构成不正当竞争行为。
森马此后回应称有些误会,是通过少林寺所属单位的合作公司获得授权,但随后在多个平台下架涉事服装。 
嵩山少林寺发函称森马服饰侵权
对于嵩山少林寺维权一事,也有网友认为“少林功夫”应该属于全社会,系社会“公共品”,嵩山少林寺维权之举实则是为维护商业利益,存在不妥。不过有多名律师表示,嵩山少林寺申请注册“少林功夫”商标并进行维权,并不违背法律规定。
但嵩山少林寺疑似抢注其他少林寺商标一事,也有律师分享了各自的观点。

图为嵩山少林寺注册的“西少林”相关商标
据澎湃新闻报道,“嵩山少林寺把东、南、西、北少林都注册了,可能有点争议。”刘彬律师表示,其行为有抢注之嫌。但是否构成抢注,还要根据事实情况来进行最终判断。“现在常见侵犯他人在先权利的商标注册申请,其中原因很多,如何准确地识别出他人的在先权利是商标审查时的一个难题。”
湖南闻胜律师事务所知识产权与娱乐法律师刘凯也认为,其他少林寺与嵩山少林寺在历史沿革、文化渊源等方面具有较大差异,嵩山少林寺申请“东少林”、“西少林”、“南少林”商标确实存在抢注的嫌疑。
对于嵩山少林寺的抢注问题,9月16日,福清南少林寺主持释广智在接受澎湃新闻采访时表示,“都是寺庙,佛家讲‘不争’。”
(钛媒体编辑综合自澎湃新闻、凤凰WEEKLY财经)






快报
根据《网络安全法》实名制要求,请绑定手机号后发表评论