文 | 点点数据
自去年3月宣布战略定位重大调整后,字节跳动的游戏业务正式重启回归孵化状态,整体非常低调,但近一个月字节游戏似乎重新在行业中活跃了起来,与之相关的新闻报道明显增多。
先是今年10月底,外媒technode报道称,字节计划在海外推出一个全新的游戏发行平台“GameTop”。该平台大概率为小游戏平台,类似海外的taptap或hago、weplay,致力于为海外用户提供个性化的游戏内容,同时满足玩家的创作与社交需求;再是11月中下旬曝出,抖音端加码广告小游戏布局,近期主推小游戏《梦幻数独》(今夏上线抖音),体验用户量已经破550万,相关话题词超1300万次播放;紧接着是上周传出的沙特游戏巨头Savvy Games Group正与字节就收购其全资子公司沐瞳科技进行谈判,但双方暂无对此进行回复。
![]()
剥离了这些新闻之后,其实在核心的手游端,字节近期需要重点关注的动作也不少,重点新游《境·界 刀鸣》(《BLEACH Soul Resonance》)全球范围内上线8天吸金超5340万元(不包含国内安卓端,下同),海外开测休闲SLG新游《ZombieWorks》引发关注。
![]()
![]()
下文中,点点出海将详细拆解上述两款产品的具体表现,尤其是字节“耗时长久”的《境·界 刀鸣》。
波折多年终公测,8天吸金5340万,《境·界 刀鸣》欲成为《死神》改编头部手游
相比于《海贼王》与《火影忍者》改编手游数量的众多,同为“三大民工漫”的《死神》就显得“冷清”很多,基于《死神》改编且制作精良的3D ARPG手游《境·界 刀鸣》填补了对应IP玩家的需求空白。
![]()
然而该作在正式上线前可谓历经波折,2021年底游戏以代号《SS15》被曝光,当时仅有Demo,研发方为广州游戏公司喀什奥术(广州心源互动拆分出来的团队,2022年被上市公司名臣健康收购),宣称研发投入已过亿元,预计2023年2月交付海外公测版本,同年9月交付国内公测版本;
2023年7月《境·界 刀鸣》首次对外曝光PV并开启预约,不幸的是同年年年底字节开始大举裁减游戏业务,彼时虽然项目被保留了下来,但开发团队动荡不断,一度将要解散(2024年游戏对外基本没有任何发声以及更新),最终似乎以核心成员被字节回归旗下作为结束;
![]()
2024年2月该作拿下版号,2025年1月中旬,制作人官宣游戏“复活”并再次开启预约,此后整体节奏开始加快。3与13日开启“始解测试”(安卓端限号删档测),7月3日“卍解测试”开启,10月10日确定全球公测时间,10月16日“刀鸣测试”开启,公测前一周的11月14日游戏全球预约人数突破1500万。
![]()
![]()
于是时间来到11月21日,《境·界 刀鸣》在全球近170个国家及地区正式开启公测(未上线日本及印度市场),首日便冲上70个区域市场iOS游戏免费榜TOP10,(位于32个区域市场TOP1,包含中国大陆、美国、英国、法国等),期间登上近40个区域市场iOS游戏畅销榜TOP50(国内最高为13名、中国台湾为第9、韩国为第16、美国为第85)。目前其依然位于iOS游戏免费榜国内第32、泰国第8、中国台湾第18、韩国第26的位置。
![]()
国服iOS双榜排名趋势
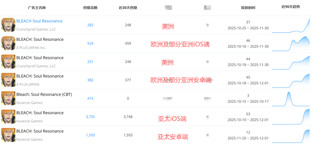
值得一说的是,该作国服及亚太地区(包含中国港澳台、韩国等)由字节旗下朝夕光年负责发行,美洲和大洋洲由索尼旗下的动漫业务子公司Crunchyroll负责发行,欧洲及部分亚洲地区(中亚及西亚)的发行工作由日本公司A PLUS JAPAN负责。
![]()
市场数据方面,以下载量而言,游戏提前一天开启预下载,当天斩获44万以上的下载量,公测首日日下载量升至74万,之后开始规律性的下滑,目前日下载约为22万。
![]()
上线至今下载量趋势
流水方面,游戏首日便完成吸金320万元,之后连续增长,直到第4日来到850万的日流水峰值,此后数据虽然有所下滑,但速率和缓,目前日流水约为630万元。
![]()
上线至今流水趋势
截止目前,游戏公测8天累计下载量约为415.4万(首周下载量为393.3万),中国大陆iOS端、美国、印尼以37.68%、8.92%、8.87%的占比位列前三,以平台来看,APP Store占比略高为63.35%;
总流水预估在5340万元(首周流水4710万元),中国大陆iOS端、中国台湾、美国以43.49%、16.08%、11.89%的贡献位列TOP3,以平台来看,APP Store豪占81.54%。
目前的RPD方面(单个下载收入),APP Store端约为16.54元,Google Play端为6.47元。
![]()
以当前的短期数据来看,《境·界 刀鸣》成绩还是非常能打的,这首先肯定是因为《死神》自带流量的强IP效应;
买量方面则是明显倾斜于IP的核心辐射市场,该作最早于今年10月中旬才开始投放(公测前一个半月),公测前两天投放力度才开始明显拉升,亚太地区是其投放量最大的区域,欧美则不够给力,而这也与流水的区域分配几乎一致;
![]()
图片来自广大大
游戏体验方面,其主线与原著漫画一致,美术风格也与动漫几乎保持一致,一比一还原了角色及技能招式。战斗上,该作采取“削韧破防+轮切战斗”的系统框架,玩家需要操控一支三人小队进行箱庭清版战斗,每个角色都是普攻+战技+必杀技的形式,此外还有闪避和封灭的技能。需要一说的是,游戏目前只有PVE,角色和武器都是通过抽卡获取,后期玩法模式上有肉鸽、爬塔、组队挑战和高难BOSS。

动图来自于游戏新知

动图来自于游戏价值论
综上所述,《境·界 刀鸣》当前的成绩并不难理解,而这还是建立在没有上线日本市场的前提下,至于其是否能成为《死神》改编的头部产品还需要长线观察。
从传统SLG转向休闲化SLG,《ZombieWorks》从背景和美术上做出差异化
除了上作,近期字节也试图在竞争激烈、爆款频出的休闲SLG分一杯羹。
点点数据显示,今年8月中旬,字节旗下的账号“Pylon Games”(开篇提到的游戏平台GameTop也在该账号下发布)在多个国家及地区的Google Play发布了一款名为《ZombieWorks》的僵尸题材休闲化SLG新游。
![]()
![]()
11月中旬时,其开始大面积下架,仅在菲律宾、印尼、英国、加拿大开启小规模测试,也是同一时间,游戏开始小规模投放。
![]()
![]()
以目前的投放情况以及未产生可统计的市场数据的现实来看,该作当下依然处于前期测试优化中。
回到游戏层面来简单阐述下《ZombieWorks》,其首先在世界观和美术上做出了区分度,不同于其他僵尸题材SLG中,僵尸一直作为反派角色出现,该作的主角是一位“僵尸英雄”,他需要帮助一群采用萌系卡通风格形象类似小黄人的僵尸同伴,对抗僵尸猩猩以及各类僵尸敌人。
![]()
玩法上,底层框架类似FunPlus旗下的《Tiles Survive!》,前期需逐步在避难所建设电力塔、宿舍、食堂等建筑设施,增加对外防御,驱散迷雾,招募英雄等,副玩法为“摇杆割草”,再通过卡牌战斗与模拟经营过渡至SLG(游戏开始后30分钟解锁世界地图)。
![]()
此后该作的核心应该是不断完善游戏的完整性,优化体验,同时提高与竞品的差异化。
需要一提的是,字节布局SLG品类由来已久。
早在2020年由绿洲工作室研发的西方魔幻SLG《Land of Empires》就在海外开启了不删档测试,目前其仍在测试中,但整个测试期间该作表现较为一般,月流水峰值仅在百万左右。有趣的是字节对该作可谓耐心持久,近期其包体似乎又迭代更名为《Oxygenless Survival》继续测试中。
![]()
![]()
时间来到2021年4月,字节还收购了拥有《红警OL》的友爱互娱(2024年5月中国儒意2.59亿元收购字节旗下有爱互娱,但外传有爱核心团队依然留在字节),《红警OL》目前国内iOS端月流水依然稳定在千万以上。
![]()
2021年至今《红警OL》国内iOS端月流水趋势
除此之外,据游戏新知5月的报道,字节Bluesea工作室在北京和上海都在为SLG项目开展招聘,据公开信息猜测其中一款为轻度融合类SLG,另外广州有为一款多文明题材的SLG招募美术岗位。
观察会发现,自字节游戏业务成立以来,SLG就是布局点之一,前期重点放在传统SLG上,虽然有新游产出,但整体效果一般,重启“起航”后,SLG品类的布局重点开始转向休闲化,近期曝出的《ZombieWorks》是唯一一款明确对外曝光及测试的产品,因此立刻引发行业关注,后续若该作扩量测试,点点出海将继续跟踪。
2025年字节减速,沐瞳继续冲锋,自有工作室在研19款产品,大多未上线
2025年的字节游戏,不同于2020年至2022年的大张旗鼓,也不同于2023年至2024年的跌宕起伏,它更倾向于低调发育,慢慢累积,这一点也符合新任游戏业务负责人张云帆最初规划的。
纵观这一年,除了上述提到的两款产品,字节主要上线了4款产品。
首先便是3月27日国内上线的,由世嘉与Colorful Palette共同制作,朝夕光年旗下ZERO36工作室负责发行的音游《初音未来:缤纷舞台》,该作首月iOS端流水约为920万,此后其开始缓速下滑,目前其iOS端月流水在400万左右。
![]()
接下来的4款产品,均为沐瞳旗下。
具体来看,1月23日,海外颇负盛名的《Mobile Legends Bang Bang》国服《决胜巅峰》正式上线,然而其首月iOS端流水不足百万,之后则更为惨淡;
![]()
5月28日,测试已久的自走棋游戏《Magic Chess: Go Go》正式在海外全面上线,首月流水预估为600万,近一个月流水在310万左右,数据处于缓速下滑中。
![]()
紧接着是6月26日全球同步上线的暗黑哥特幻想二次元RPG《银与绯》(移动端及PC端),其首月流水虽然冲至8011万,但此后开始快速下滑,目前月流水已经不足800万元,其累计流水约为1.7亿元,其中日本、韩国以及中国iOS端分别占比24.8%、19.66%、18.09%位列TOP3。
![]()
最后则是8月28日在全球170多个国家及地区上线的弹幕射击游戏《发条总动员》,其首月收获7445万元,但同样存在无法长线持续的问题,近一月流水仅为2050万元。
![]()
综上所述,虽然字节还在不断地推出新游,但基本出自内部相对独立的沐瞳,自建工作室基本处于“韬光养晦”的状态,《境·界 刀鸣》可以说是今年字节“自研”的最重磅线上新游,《ZombieWorks》则是让外界可以洞观其中一条品类的布局现状。
然而虽然自有工作室上线测试或者说完整曝光的产品少,但这并不代表其在研产品少,据媒体竞核报道,“当前朝夕光年旗下共计约有19个项目组在研(不包含沐瞳与心光流美,后者今年6月被沐瞳收购),品类覆盖动作、射击、搜打撤、SLG、卡牌、ARPG、塔防、MOBA、UGC、模拟经营以及中轻度产品。”
![]()
图片来自竞核
对于一个不再追求高频产出,遍地投爆款的字节而言,减速是必然的,甚至收紧立项也是必然的,回归内容与长期发展之后,字节能否建立起自己的产品矩阵显得极为关键,而这只能从当下在测以及未来上线的每一款新游中寻找答案。
参考资料:
1、字节新平台GameTop ,海外版 Taptap ?
2、独家|广告小游戏崛起,字节腾讯押注下一个流量金矿
3、研发4年、耗资过亿,字节跳动的ARPG测试了
4、畅销榜第12,并肩火影,字节的死神IP新游成了?
5、20251119本周新游:星合居然出了个兽耳娘SLG?机甲,帕鲁,饥荒哪个会是爆款新方向?
6、字节跳动SLG新品海外开测,下载量过万次
7、32款在研、立项收紧,字节游戏有了新变化









快报
根据《网络安全法》实名制要求,请绑定手机号后发表评论