文 | 雷达财经,作者 | 周慧,编辑 | 深海
11月9日下午,国内医疗信息化龙头、市值180.5亿元的卫宁健康发布公告称,周炜辞去公司董事长、法定代表人职务,将继续担任公司顾问。公司董事会选举创始人之一的刘宁担任新董事长。
不久前,卫宁健康披露了周炜、全资子公司深圳卫宁中天软件有限公司(下称“卫宁中天”)单位行贿案的一审判决结果。
2023年7月,周炜被茂名市监察委员会实施留置。历经两年多的案件调查后,广东省茂名市电白区人民法院判决被告单位卫宁中天犯单位行贿罪,判处罚金80万元;被告人周炜犯单位行贿罪,判处有期徒刑一年六个月,并处罚金20万元。
卫宁健康在公告表示,上述一审判决尚未生效,卫宁中天及周炜均已决定提起上诉。
这并非周炜首次涉及行贿。据媒体报道,2011年卫宁健康IPO前夕,周炜向一位时任发审委委员行贿1万欧元,试图影响评审。
雷达财经注意到,除了实控人涉及行贿,卫宁健康近年来的业绩也出现了颓势。
2016年,卫宁健康的归母净利润曾达到5.19亿元,然而到了2024年,公司归母净利润仅剩下0.88亿元。
进入2025年,公司业绩并未好转。财务数据显示,卫宁健康今年前三季度累计实现营收12.96亿元,同比减少32.27%;归母净利润-2.41亿元,同比减少256.1%。
周炜曾被评为上海市优秀软件企业家,其带领卫宁健康成为全球医疗科技排名前50的企业。而随着此次行贿案一审判决的落地,这位带领公司走过三十年发展历程的创始人,也迎来了个人职业生涯与公司发展的双重考验。
周炜因单位行贿获刑18个月
11月5日晚间,国内医疗信息化龙头卫宁健康发布重磅公告,披露了公司实际控制人周炜及子公司卫宁中天涉单位行贿罪的一审判决结果。
卫宁中天及周炜家属收到的广东省茂名市电白区人民法院签发的《刑事判决书》显示,被告单位卫宁中天犯单位行贿罪,被判处罚金80万元;被告人周炜犯单位行贿罪,判处有期徒刑一年六个月,并处罚金20万元。
雷达财经回查公告发现,2023年7月3日,卫宁健康发布公告称,公司工作人员于2023年7月2日收到茂名市监察委员会的电话通知,公司实际控制人周炜被实施留置措施。经公司与周炜家属确认,周炜于2023年7月1日被实施留置措施。
同年8月14日,卫宁健康披露,周炜已解除留置措施返回上海并恢复正常履职,但相关案件仍在进一步调查。
历经两年的调查后,这一行贿案最终进入司法判决阶段。对于本次判决,卫宁健康表示,上述判决为一审判决,尚未生效,被告单位卫宁中天及被告人周炜均已决定向广东省茂名市中级人民法院提起上诉。
至于本案对公司经营方面的影响,卫宁健康在公告中表示,卫宁中天作为区域型全资子公司,仅在广东部分地区开展业务,其被判决对公司影响不大。
卫宁健康披露的数据显示,卫宁中天2022年至2024年营业收入分别为2367.53万元、1564.34万元和1365.20万元,占公司同期营收比例分别为0.77%、0.49%和0.49%,同期卫宁中天净利润分别为999.39 万元、1126.92万元、700.14万元,占公司净利润比例分别为9.20%、3.15%、7.97%。
![]()
卫宁健康称,卫宁中天的80万元罚金仅占公司最近一期经审计归母净利润的0.9%,预计对本期利润无重大影响。
此外,卫宁健康在公告中还强调,目前公司经营正常,除周炜无法正常履职外,公司其他董事、监事、高级管理人员均正常履职。公司将尽快召开董事会,审议由公司副董事长刘宁代为履行公司董事长、法定代表人职务等事项。
不过,资本市场并不认可公司影响有限的说法。11月6日,卫宁健康股价大跌10.38%。11月7日,卫宁健康再度下跌0.61%,公司最新股价为8.15元/股,总市值回落至180.5亿元。
罕见出现前三季度亏损
除了被曝出行贿案,卫宁健康近年来业绩也已出现颓势。
同花顺iFinD数据显示,自2007年以来,公司营收整体呈现出上涨的趋势。2023年达到31.63亿元,这是公司营收最高点。
![]()
相比营收,公司归母净利润更早出现颓势。
2016年,卫宁健康的归母净利润曾达到5.19亿元,此后一路震荡下行,到了2024年,公司归母净利润仅剩下0.88亿元。
![]()
进入2025年后,卫宁健康的业绩并未好转。公司10月27日晚发布的2025年三季报显示,公司第三季度实现营收4.57亿元,同比减少33.78%,取得归母净利润-1.23亿元,同比减少199.16%。
![]()
整个前三季度,公司累计实现营业收入12.96亿元,较去年同期减少32.27%;归母净利润为-2.41亿元,同比减少256.10%。
雷达财经注意到,这是公司2010年以来,首次出现前三季度亏损。
![]()
对于2025年前三季度营收下降,卫宁健康在财报中解释称,系报告期内业务规模下降及业务战略调整所致。
雷达财经注意到,近年来,医疗信息化行业正经历政策红利消退、预算约束强化与监管环境趋严等多重挤压。
据第一财经此前报道,2018年至2023年,因国家卫健委明确要求医院强制参与电子病历、互联互通等评级活动,国内医疗信息化行业一度得到高速发展。但自2023年中期起,大部分医院已完成政策要求的基础评级目标,行业重心开始转向现有评级的效果消化。
另外,在DRG的推行下,医院投入决策趋于审慎,各部门对信息化建设的审批转向“结果导向与效果导向”,企业中标难度与审核周期大幅提高。同时,随着医疗反腐的推进,部分医院、企业违法进行的招标投标被曝光,为避免非议,大量医院选择了推迟或取消进一步的信息化改革。
这些因素也在一定程度上影响了卫宁健康的业绩。2025前三季度,卫宁健康核心产品软件销售及技术服务业务收入同比下降22.78%至10.98亿元。
卫宁健康在三季报中解释称,受部分客户需求释放递延,招投标节点推迟及部分项目验收确认进度延迟、WiNEX 产品在升级替换过程中尚未转化为规模收入、人工等成本费用相对刚性,导致营收净利下滑。
此外,卫宁健康内部战略调整则成为了公司业绩波动的另一重要因素。
面对行业竞争日益激烈的挑战,卫宁健康采取了“侧重经营质量、侧重项目质量”的经营策略,对互联网医疗健康业务进行优化。自2023年起,公司已陆续减少了部分低毛利率的创新业务。
前述三季报显示,卫宁健康的创新业务主要由纳里股份、环耀卫宁、卫宁科技三家参股公司承担,属于互联网医疗健康板块。
而受公司互联网医疗健康业务优化(部分关停或剥离)的影响,今年前三季度公司互联网医疗健康业务收入大幅下降,营收仅为1.05亿元,同比下降66.24%,占营业收入比重也由上年同期的16.19%下降至8.07%。
其中,前述三家创新业务公司营收分别为5568.79万元、6036.80万元、1.13亿元,同比增长率分别为-43.44%、-72.86%、-2.18%。
![]()
同期三家公司分别取得归母净利润-1362.58万元、-672.59万元、-3847.36万元,与上年同期的-2896.7万元、-1238.21万元、-8169.5万元相比,亏损虽有所收窄,但均未实现盈利。
周炜未能登上2025年胡润百富榜
作为卫宁健康的创始人,周炜的个人经历与公司发展轨迹深度绑定。
公开信息显示,周炜,1967年出生,中国国籍,中欧国际工商学院高级管理人员工商管理硕士、高级工程师、高级经济师。
1993年,周炜进入上海泰格新技术开发公司任职总经理,这家公司还有一位创始人——周炜的配偶王英。
1998年,周炜创办了上海金仕达卫宁医疗信息技术有限公司,王英出任总裁助理。随后,周炜请来美国惠普(HP)技术员刘宁,以及工程师孙凯,搭建起公司的核心团队。
2000年,周炜被评选为上海市虹口区优秀科技工作者。
2004年,周炜成立了卫宁健康的前身,上海金仕达卫宁软件有限公司(下称“卫宁软件”)。因此时医药信息系统尚为空白,市场前景广阔,卫宁软件看准机遇,通过招标方式切入市场,很快站稳脚跟。
2008年、2009年,卫宁软件连续两年被IDC评选为“医疗整体解决方案十大供应商”第一,公司多次荣获“上海市明星软件企业”称号,产品多次被评为 “上海市优秀软件产品”。
2009年,周炜被评为上海市优秀软件企业家。
2011年,在周炜的带领下,卫宁软件成功在深交所上市,成为国内首家医疗卫生信息化的上市公司。
2015年,周炜带领公司布局医疗健康服务领域,推动互联网+模式下的医疗健康云服务等创新业务的发展(后升级为“1+X”战略),并控股参股纳里股份、环耀卫宁等企业。
2016年,公司从卫宁软件更名为卫宁健康。
2018年,阿里旗下蚂蚁金服子公司上海云鑫以对价10.58亿元拿到卫宁健康5.05%的股权。双方自此开始了深度合作,共同研发出新冠智能问诊系统及WinCloud智慧医疗云解决方案。
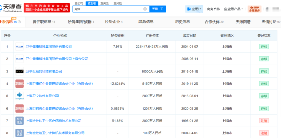
天眼查显示,截至目前,周炜担任卫宁健康、卫宁互联网科技有限公司、上海卫宁软件有限公司等6家公司法定代表人,涉及企业管理咨询、互联网,商务信息等行业。
![]()
虽然创业过程中,周炜积累了不菲的财富,但由于其仅持有卫宁健康7.97%的股份,其未能登上2025年胡润百富榜。
对于周炜的后续命运以及行贿案对卫宁健康的影响,雷达财经将继续关注。









快报
根据《网络安全法》实名制要求,请绑定手机号后发表评论