![]()
图源@视觉中国
近两年的手机市场可以说是乏善可陈,没有突破性的创新,挤牙膏式的升级,也难以勾起消费者的换机热情。相关数据显示,智能手机的换机周期已经提升到43个月,达到历史新高。
今年上半年,大部分品牌都在加快清库存的速度。中端市场再起价格战,终归只能吊起部分消费者的胃口。拍照、5G、快充之后,性能过剩的市场需要新形态的迭代换新。
逆势增长的折叠屏手机,伴随着价格的下滑,正在吸引更多的中高端用户尝鲜。屏幕供应链咨询公司DSCC预估,2023年全球可折叠智能手机的出货量将达到1900万台。
逆势增长,出货量再创新高
更大的屏幕以及携带的便捷性,让折叠屏受到越来越多高端市场用户的关注。
2018年,柔宇科技发布了可折叠屏幕的手机,让折叠屏走进大众的视野。后期三星和华为都发布了折叠屏产品,占据了主流市场。但万元以上的售价,加上折痕、续航等体验上的欠缺,让折叠屏只停留在超高端用户市场。
到了2021年,国内头部手机巨头基本都加入这一战局,发布折叠屏手机,价格的下探也让更多人愿意掏腰包去尝鲜。2022年,国内主流厂商齐聚折叠屏市场,发布一款或多款折叠屏产品,七千出头的价格,给了高端用户更多的选择机会。
值得注意的是,全球手机市场的寒气并没有传递给折叠屏,反而实现逆势增长,并逐渐在高端市场占据主导地位。根据DSCC的报告显示,2022年全年,折叠屏智能手机的全球出货量增长了62%,达到1290万部。
国内市场亦是如此,CINNO Research发布的数据显示,2022年中国市场折叠屏手机销量达283万部,同比增长144.4%,并已连续9个季度同比正增长。
对比之下,全球手机市场2022年出货量同比下降11.3%,并创下2013年以来的最低年度出货量。
据市场调研机构数据,2023年前四周中国折叠屏市场同比增长64%。多家研究机构也都发布了2023年折叠屏手机市场的预测,虽然最后的数字有偏差,但毫无例外都是高增长。
其中,DSCC预估2023年全球可折叠智能手机的出货量将达到1900万台,将会有37款可折叠手机上线,包括16种翻盖式折叠手机,20种内折叠手机(书本型),还有1种新型的外折叠手机。
Counterpoint给出的数字更为乐观,预计2023年全球折叠屏手机市场将同比增长52%达2270万部。中金公司研究也指出,2022年折叠屏产品迭代加速,预计2025年全球折叠屏手机出货量有望达到8000万台。
三星、华为占主导,国产面板厂商迎新机会
一开一合,折叠的形态,满足了消费者不同场景下的使用需求,也提升了便携式移动办公的体验。不过,由于铰链技术以及屏幕使用体验上的差异性,不同品牌的折叠屏产品市场表现不一。
就当前来看,早先入局的三星和华为依旧牢牢把握着绝大部分市场。
![]()
可折叠手机市场份额
根据DSCC发布的数据显示,三星折叠屏手机全球销量第一,华为位居第二。其中最畅销的机型是三星Galaxy Z Flip 4,市场份额为47%;其次是Z Fold 4,市场份额为28%。
从TechInsights给出的数据来看,相比较2021年,华为折叠屏市场份额在2022年迎来了翻倍增长,而这更多的也是倚靠在国内市场的出色表现。
![]()
图源:IDC中国
IDC数据显示,在中国市场,华为折叠屏市场份额为47.4%,位居第一。三星、OPPO、vivo分列第二三四位,市场份额分别为16.5%、13.8%以及7.7%。
短期来看,国产品牌在折叠屏产品上的投入,会进一步抢占三星的市场,尤其是在国内市场。不仅如此,折叠屏手机的高速增长,也让国产面板厂商有了更多的机遇,DSCC预估2023年折叠面板出货量将超过2200万片。
众所周知,屏幕是折叠屏体验好坏的重要因素之一,每家品牌也都会根据产品的定位选择不同的面板厂商。目前,可以生产可折叠柔性OLED面板的厂商有三星显示、京东方、TCL华星光电、维信诺和深天马等。
依靠着技术上的优势,加上三星折叠屏手机的高销量,三星显示位居市场第一,其市场份额超过八成。排在之后的是京东方,包括华为、荣耀等折叠屏手机都在使用。
东方A在接受机构调研时表示,2023年,随着公司柔性AMOLED业务的持续成长,以及客户端份额的持续增加,预计公司柔性AMOLED产品的出货量有望保持大幅增长。
与此同时,京东方在技术上的快速提升,也让其在高速增长的折叠屏市场有了进一步提升市占率的机会。有消息称,京东方有可能在今年打入三星折叠屏供应链,其生产的可折叠柔性OLED面板预计安装在今年下半年发布的Galaxy Z Flip / Z Fold 5和之后的 Galaxy Z Flip / Z Fold 6系列中。
除了京东方之外,维信诺、华星光电和深天马也在深入布局折叠屏市场。其中,华为和部分荣耀折叠屏手机使用的就是维信诺的屏幕,华星光电则已经供货给小米、传音等客户。
维信诺在回答投资者提问时表示,公司折叠方案已经积累了较多创新技术,弯折半径和弯折次数做到了行业的性能领先,已供货头部品牌客户。
此外,深天马透露,作为公司最新的AMOLED产线,该产线对包括折叠、减功耗(包括HTD、CFOT等)、屏下摄像在内的先进技术做了布局,将考虑主要在 TM18 产线上进行折叠屏的生产,预计2023年将具备折叠屏的量产能力,并推出相关折叠产品。
苹果即将入局,折叠屏或将成为智能手机的新标准
在全行业下滑的2022年,折叠屏逆势增长,但若要普及到中端及以下市场仍需时间。目前,折叠屏仍然属于高端品类,价格是阻挡消费者尝鲜的最大原因。
IDC中国高级分析师郭天翔告诉钛媒体App,折叠屏作为目前安卓可以与苹果做出差异化的产品,成为高端产品的代表。但折叠屏发展普及还需要一段时间,美国、韩国等成熟市场需求相对更多,对于新兴市场来说折叠屏的价格还是偏高。
![]()
主流折叠屏手机参数表,钛媒体App制图
随着越来越多手机厂商的加入,让折叠屏的价格逐渐下探。在MWC 2023上,传音发布的首款折叠屏手机早鸟价就降到了7000元以下,只可惜不在国内发售。
未来,随着技术和成本的下降,折叠屏手机的售价也会不断下降,更加亲民。Counterpoint高级分析师汪阳指出,随着技术的成熟和更多的竞争者入场,价格自然将会下降,这将使此类产品变得更容易被消费者接受。
论增速,折叠屏独领一线,但就渗透率来说仍然很低,大概达到全球手机市场的1-2%。不过,这并不影响折叠屏成为智能手机行业的新标准。
一般来说,高端市场是整个行业的风向标。三星电子移动业务负责人卢泰文此前曾透露,到2025年,折叠屏手机将占三星高端智能手机出货量的50%以上。相关机构预计,到2025年,折叠屏手机将占高端市场40%~50%。
Counterpoint给出的数据也显示,在1000美元以上的高端市场,折叠屏手机正开始占据主导地位,出货量份额达到了两位数,预计在2023年将增长到20%以上。
一个有意思的现象是,折叠屏发展到现在,苹果依旧迟迟没有入局。作为全行业的标杆,苹果是激进的,同时也是谨慎的。多名分析师告诉钛媒体App,当苹果下场之后,将会带领整个折叠屏市场迎来质的突破。
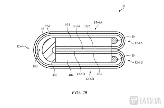
多个消息显示,苹果距离发布旗下首款折叠屏产品越来越近了。2月份,苹果获得了一项新专利,允许用户触摸设备的多个部分,而不仅仅是屏幕,以实现一些功能。
![]()
苹果相关专利图像
专利描述中还包含一张图像,是一张可折叠的手机或平板电脑的图纸,该设备带有“环绕式”屏幕(即可折叠)。
瑞银分析师表示,这项专利表明了可折叠设备的可能性,但不是在今年。郭明錤称,苹果或将在2024年率先推出折叠屏iPad,试水折叠屏市场。
(本文首发钛媒体App,作者/杜志强,编辑/钟毅)









快报
根据《网络安全法》实名制要求,请绑定手机号后发表评论